Menu
vesta-teplij-pol.ru
  • Своими руками
  • Выбор ламината
  • Стяжка полов
  • Деревянные полы
  • Домашняя гидроизоляция
vesta-teplij-pol.ru

Устройство кровли вокруг дымовой трубы: вывод и монтаж печной трубы – как установить, вывести, сделать и провести правильную установку дымового отвода

вывод и монтаж печной трубы – как установить, вывести, сделать и провести правильную установку дымового отвода

Содержание

Объекты, имеющие функцию отопления от котла, печи или камина требуют нормального вывода дыма наружу, что необходимо для поддержания защиты и безопасности жильцов. Поэтому крайне важно знать, как сделать проход трубы дымохода через крышу и кровлю с учетом всех стандартов.


Основные правила

Если в доме есть отопление, вам потребуется создать оптимальные условия для удаления дымовых газов. Существует несколько способов выведения трубы в зависимости от места установки. На его выбор влияет множество факторов, а дымоотвод может устанавливаться:

  • в самом коньке; 
  • на расстоянии от него.


Каждый из описанных способов имеет свои отличия и особенности, но преимущество отдается монтажу по второму варианту. Для поддержания нужной силы тяги общая высота дымового канала должна соответствовать пределам 5-10 м.

 

Как защитить кровлю от горения

Для этого нужно учесть два момента:

  • Проход через стеновые и потолочные перекрытия. Здесь обязательно использование ППУ с минеритом, так как внешняя труба сэндвича нагревается до температуры 200*.
  • При проходе через крышу необходима крышная разделка и все остальные сопутствующие элементы.

Согласно нормам, минимально допустимое расстояние между дымоотводом и несущими балками или стропилом должна быть 130-250 мм. Изнутри конструкция наполнена жаростойким материалом.

Схемы проходов вы можете найти в каталоге Феррум в разделе сайта «рекламная и полиграфическая продукция».

Проход дымоотвода через кровлю

Предназначением дымохода является удаление продуктов горения. Как описывалось выше, высота трубы должна рассчитываться специалистом с учетом стандартов СНиП и удаленностью от конька.


Узел прохода

Один из вариантов — проход сквозь конек.  

Но чаще всего, монтаж трубы дымохода через крышу и кровлю осуществляется не через конек, а на расстоянии от него. Согласно требованиям СНиП:

  • Суммарная длина дымового канала должна быть не менее 5 м. Исключения составляют лишь дома, в которых отсутствуют чердаки, но при условии наличия устойчивой тяги.
  • Высота дымоотвода над кровлей составляет не менее 0,5 м.
  • Дымовая труба возвышается над коньком на полметра или больше. Но если расстояние между ней и коньковым ребром по горизонтали не превышает 105 см.
  • Устье должно идти ровно по высоте с коньком или выше, когда ширина по горизонтали находится в интервале 1,5 – 3,0 м. 
  • Выход дымохода должен быть не ниже линии, отложенной от конька в сторону карнизного свеса под уклоном 10º по отношению к горизонту.


Недостатком же является необходимость сопоставления высоты дымоотвода, что приводит к дополнительным затратам.

Профессионалы не советуют делать его через ендову из-за того, что в таких местах нередко накапливаются снежные залежи, тем самым нарушается гидроизоляция и появляются протекания. Также существуют сложности организации короба. Локализация дымохода в ниже находящемся отделе ската тоже имеет весомый минус – вероятность повреждения при схождении снега.


На установочные работы влияет и материал, составляющий основу дымоотводной трубы. Это может быть металлическое, кирпичное и керамическое основание. Каждый из перечисленных вариантов обладает разной сгорающей температурой, что нужно знать при создании проекта. На основе трубного сечения выходное отверстие может иметь форму квадрата, круга, прямоугольника или овала. Зная, как правильно выводить дымоход через крышу, его монтаж производят в три последовательные стадии, осуществляемые профильным специалистом:

  1. По бокам монтируются дополнительные стропила.
  2. Укладка горизонтальных балок на идентичном с этим отверстием расстоянии (рассчитывается согласно СНиП и соответствует диапазону 140-250 мм).
  3. Заполнение внутренней поверхности короба невоспламеняемым материалом для утепления.

Чтобы предотвратить нарушение нормальной вентиляции, рекомендуется установить отдельно вентиляционную систему.


Видеоматериал: нюансы установки

Вывод дымоотвода через разнообразные типы кровли

Ниже – рекомендации по монтажу дымоотводящего канала в зависимости от материала крыши.


Кровля из черепицы

В таком варианте для обработки прохода профессионалы прибегают к применению рифленого, самоклеящегося, листового алюминия или свинца.

Выведение трубы с сечением в форме квадрата или прямоугольника

Если дымоотводящее отверстие имеет кирпичную основу, то из-за нестандартных габаритов, перед выведением небольшая часть листков покрытия должна сниматься или вырезаться в большем размере.

Чтобы обеспечить гидроизоляцию, применяются эластичные ленты, имеющие основу из клея. Они клеятся специалистом на трубное основание и кровельную обрешетку. Верхний край крепится посредством планки из металла, а имеющиеся соединения замазываются герметичным веществом.

 Для предупреждения попадания осадков рекомендуется установить дополнительный галстук.

Проход круглой печной трубы через крышу 

Обеспечивается благодаря специальному колпаку, который отвечает за проведение дымоотводящего отверстия. В покрытии делается небольшое и ровное отверстие, согласно трубным габаритам. На него надевается мастер-флеш, а имеющиеся соединения замазываются герметичным веществом.

Видеоматериал: герметичность дымохода из кирпича через металлочерепицу

Кровля из профнастила

Это актуальный материал, часто применяемый при проведении строительных работ.

Однако при его использовании существует риск развития протечки, особенно при несоблюдении технических правил. Чтобы предотвратить такой исход, рекомендуется располагать его в вертикальном положении. Кровельное отверстие делается болгаркой, но необходимо следить за отсутствием на полученном профнастиле зазубрин и прочих неровностей.

Как вывести прямоугольную трубу дымохода

В этой ситуации профессионалы рекомендуют привлекать оцинкованный лист:

  1. Вырезание четырех планок для дальнейшего монтирования с каждой из сторон.
  2. Укладка от нижнего края до карниза.
  3. Приставить планки и крепление низа к обрешетке.
  4. Обеспечить герметичность.
Выведение дымоотвода сечением в форме круга

В этом случае установка дымохода через крышу требует наличия рулонной битумной изоляции или одноименной фольгированной ленты. После этого устанавливается проходка, наклеивающаяся на обрешетку, и уплотняется термоустойчивым герметическим веществом. Если она выполнена из резиновой основы, повышается риск плавления, поэтому стоит поместить под него хомут и прокладку, способную выдерживать относительно высокие температуры.


Видеоматериал: установка дымового канала через кровлю из профнастила

Покрытие из ондулина

Отличительной чертой этого материала считается высокая надежность и устойчивость, поэтому важно сделать маленькое отверстие и заполнить его термоустойчивым материалом. Для стыковой изоляции потребуется монтировать разделку из железа и фартук, а края подвести под ондулиновые листы.

Видеоматериал: герметичность трубы на крыше из ондулина

Выведение через мягкую кровлю

Отличительной чертой материала служит то, что он относится к категории горючих стройматериалов. Поэтому для него необходимо оставить пространство между покрытием и отверстием под дымоход (примерно 13-25 мм). Гидроизоляция делается идентично прочим вариантам. Отличие – это использование ендового ковра или заведение на трубу самого покрытия.


Как установить дымоход через крышу

Работы, осуществляемые специалистом, протекают в несколько стадий:

  1. Определение наилучшей локализации места прохода.
  2. Установка короба.
  3. Вырезание отверстия в скате.
  4. Отгибание материала для кровли наружу, а изоляции от влаги – во внутреннюю сторону.
  5. Фиксация.
  6. Заделывание короба и наполнение термоизоляцией.
  7. Создание герметичности при помощи герметиков.

Проход через ондулин

Важнейшая задача – это максимальное заполнение внутренней полости огнеустойчивыми материалами. Изоляция обеспечивается фартуком, заводящимся под кровлю. С этой целью стоит присмотреться и приобрести самоклеящуюся ленту «Ондуфлеш».

Выведение дымового канала в построенной крыше мастером

  1. Выбор подходящего места.
  2. Формирование короба из брусьев.
  3. Создание отверстия в кровле.
  4. Наполнение короба негорючим материалом.
  5. Заделывание стыков герметичным веществом.

Монтирование труб с прямоугольным или квадратным проходом

Стандартным правилом профессионалов является строгое вертикальное положение. Дальнейшие действия имеют такую последовательность:

  1. Вырезание отверстия в кровле и монтаж деревянной конструкции.
  2. Фиксация стального листа и защитно-декоративной пластинки.
  3. Заведение краев гидроизоляции.
  4. Монтаж внутреннего фартука и установка внешнего.

Труба круглого сечения

Отличием установочных работ является необходимость использовать специальную разделку. Вывод профессионалом осуществляется так:

  1. Обустройство короба.
  2. Вырезание отверстия под дымоотвод.
  3. Закрепление железного листа или монтаж уже готовой детали.

Эластичные проходки

Так как провести дымоход через крышу без профессиональной помощи проблематично, важно уделить должное внимание выбору каждой детали. 

Отличительными характеристиками являются:

  • Устойчивость к неблагоприятным погодным условиям.
  • Стойкостью к ультрафиолету.
  • Гибкость.
  • Плотное прилегание.
  • Эстетичность.

Жесткие проходки

Существует два основных вида:

  • Неразъемный – вставляется в верхний край дымохода, после чего сверху надевается оголовок или конус.
  • Разъемный – его верхняя часть надевается на дымоотвод, а по краям наносится герметичное вещество, крепкая фиксация обеспечивается с помощью хомута.

Высота и размещение дымовой трубы

Все проводимые расчеты основываются на требованиях СНиП 41-01-2003 и СП (строительных правилах) 7.13130.2009, а также на полученных рекомендациях от производителей отопительных устройств.


При конструировании кровли плоского типа подразумевается оставить запас минимум в 50 см. Для скатной крыши действуют следующие правила от мастеров, основывающиеся на расстоянии между дымоходом и коньком и их расположением:

  • До полутора метров. В этом случае высота трубы должна быть не меньше 50 см (относительно последнего или ограждающего парапета). 
  • В пределах 1,5-3 метров. Здесь высота не может быть ниже конька. 
  • Если вы хотите разместить элементы дальше, чем на 3 метра, то минимальная высота будет определяться путем проведения линии под углом 10 градусов относительно горизонта.

Герметизация дымоотвода

Очень важный и ответственный этап. От его исхода зависят сроки службы самого дымохода и всей отопительной системы в целом.

Какая преследуется цель

Обеспечение герметичности проводится для:

  • Недопущения попадания дыма внутрь помещения.
  • Соблюдения техники безопасности.
  • Поддержания эстетичности.

Пожаробезопасность

Некоторые слои кровельного пирога и деревянная стропильная система не могут выдержать воздействие высоких температур, поэтому повышается вероятность возгорания. Для устранения этого риска необходимо применить специальный короб вдоль периметра кровельного отверстия. 

Гидроизоляция трубы

Защита от влаги также важный этап, который нельзя пропускать при обустройстве прохода.

Основные монтажные работы

Короб монтируется из бруса, находящегося на уровне с обрешеткой. По его краям фиксируется парогидроизоляция. Для этого делается крестовидный надрез полотна и разворот во внутреннюю поверхность частей материала в форме треугольника. Для обеспечения фиксации необходимо запастись гвоздями с широкой шляпкой или строительными скобами. Также потребуются герметики и клеевая лента. 

Устранение течи на крыше возле трубы

Для этого обязательно укладывается дренажный желоб. А само отверстие закрывается внутренним и декоративным фартуками.


Изоляция битумной лентой

Обеспечивает высокий уровень герметизации любого типа поверхности. Она полностью исключает негативное воздействие влаги, так как отличается значительной прочностью.

Элементы, используемые для вывода и герметизации
  • Короб оцинкованный. 
  • Лист накладной потолочный. 
  • Хомуты стяжные из нерж. стали.

При условии правильности выполнения технических правил, проход дымовой трубы через крышу и кровлю отличается хорошей термоизоляцией, которая добивается путем заполнения внутренней полости базальтовой ватой или прочими жаростойкими материалами. При возможности лучше оставить маленькое пространство с воздухом (5-7 см) между утеплителем и дымовым проводником. Если при монтировании конструкции участвуют проходки, то выбрать нужную деталь стоит с учетом материала, составляющего основу.

Видео

Результат неправильной установки

Вследствие несоблюдения главных правил и техники безопасности, могут возникнуть такие последствия как:

  • Разрушение дымохода.
  • Просачивание влаги внутрь трубы и развитие грибковой инфекции.
  • Увеличение влажности и нарушение гидроизоляционного ковра.
  • Усиление потери тепла.
  • Создание препятствий при воздушной циркуляции.
  • Образование трещин.

Заключение

Опытные монтажники подскажут, как провести дымоход через крышу с учетом всех стандартов и технических рекомендаций, а специалисты FERRUM помогут собрать полноценный комплект. Только грамотно подобранное изделие и правильный монтаж гарантируют качественное удаление продуктов горения, и поддержание оптимальной циркуляции воздуха в доме.

Кладка кирпичной дымоходной трубы — Еврогиб

В этой статье мы обратим внимание на сложные моменты кладки дымоходной печи из кирпича. Наша продукция (дымники, кожухи) защищает оголовок трубы от разрушения, но надёжно работает только тогда, когда сама труба выложена правильно.

Самым надежным дымоходом станет труба из красного обожженного и полнотелого глиняного кирпича, выложенная при помощи пористого и теплого известкового раствора. Швы такого дымохода дышат внутри, не запотевают, хорошо пропускают воздух, обеспечивая тем самым долгий срок службы кирпичной трубы.

Привычный многим цементно-песчаный раствор не годится для кладки дымоходных труб под кровлей. Он сравнительно легко трескается от перепадов температуры, не пропускает воздух и очень плотен. Из-за того что раствор запотевает, образуются потеки, которые при смешивании с сажей проникают сквозь швы печных стенок и портят побелку, а также издают неприятный запах. Вместо извести в раствор может добавляться глина. А вот оголовок трубы (над кровлей) часто выкладывают с помощью цемента и это правильно.

Эффективность трубы зависит от силы тяги, которая, в свою очередь, зависит от высоты дымохода.

Минимальная высота должна составлять 5 м. Чем ближе головка изделия расположена к коньку крыши, тем больше высота дымохода и тем меньше сама головка. Тяга в дымоходе создается потоками воздуха, идущими снизу вверх. Такое движение воздушных масс создает небольшое разрежение, и в стояке конструкции возникает тяга.

Схема кирпичного дымохода и основные термины


Выбор материала для кладки кирпичного дымохода

Важный момент при строительстве дымохода – выбор кирпича. На разных этапах возведения дымоотводящего канала можно использовать разные виды кирпича:


  1. Красный полнотелый шматочный или керамический кирпич – хорошо обожженный. Материал имеет ровные края и четкую прямоугольную форму. При простукивании красного кирпича слышен характерный «металлический» звук. Этот тип кирпича рекомендован к кладке любого участка дымохода. Минимальный показатель марки – 200.
  2. Кирпич розового цвета – недожженный. Во время стука по такому кирпичу раздается глухой звук. Обычно его применяют для кладки менее важных участков.
  3. Темно-коричневый кирпич (пережженный) – оптимальный вариант для кладки фундамента дымохода.
  4. Размер кирпича для обустройства дымохода – 25*12*6,5 см.

Важно! Пористый, облегченный и пустотелый кирпич запрещен к применению при возведении дымохода.

Кладка разных частей конструкции отмечается использованием рабочего раствора отличного по составу:

  • область дымохода выше кровли выкладывается на цементно-песчаную смесь;
  • кладка под кровлею осуществляется известковым или цементно-известковым раствором.

Устройство фундамента дымохода

Отдельный фундамент требуется только для труб, относящихся к группе коренных. Например, фундамент под дымовую трубу котельной.

Фундамент кладётся аналогично фундаменту под печь, теми же способами и с учётом таких же требований.

 

А собственно монтаж дымовой трубы котельной осуществляется согласно предварительно рассчитанной порядовке.


Кладка печной конструкции

Дымовой канал печи не может быть меньше 130х130 мм. Такое сечение дымохода соответствует печи, имеющей теплоотдачу до 3500 Вт. Для печей большей мощности сечение дымохода должно быть 260х260 мм. В зависимости от размера сечения дымового канала, кладку ведут несколькими способами:

  1. «Четверик» – в 4 кирпича.
  2. «Пятерик» – в 5 кирпичей.
  3. «Шестерик» – в 6 кирпичей.

Перед тем как выкладывать дымоход из кирпича обустраивается насадная труба. Она возводится с обязательным соблюдением кирпичных перевязок. Насадная труба выкладывается прямо над камином или на печке в форме прямоугольника размером примерно в 4-6 кирпича. Внутри конструкции оставляется полость – дымовой колодец. Заканчивается насадная труба, не доходя пяти-шести рядов до перекрытия.


Вывод кирпичного дымохода над крышей

Кладка дымовой трубы из кирпича начинается с шейки печи (находится на перекрыше). Шейка не доводится до перекрытия чердачного на несколько рядов (2 – 4) . Здесь устанавливается задвижка. Далее проводится кладка с расширением.

Полученное утолщение на трубе именуется «распушкой» и выполняется на уровне нахождения перекрытия. От неё до кровли, через весь чердак (по высоте) проходит часть трубы, именуемая стояк. С внешней стороны крыши (кровли) имеется второе утолщение (выдра). 


Для защиты от проникновения влаги внутрь чердачного помещения в том месте, где труба проходит через кровлю, делается гидроизоляция дымовой трубы на крыше.

Выдра на 100 мм от трубы нависает над поверхностью крыши по всему периметру трубы и отводит осадки на крышу.

Чуть выше внешней части крыши, над выдрой, идёт шейка трубы, площадь которой в плане равна площади стояка. На верхнем конце шейка расширяется. Здесь выполняется оголовок.


Над ним, в целях защиты трубы от попадания в неё влаги (дождь, снег и т.п.) и улучшения тяги ставится дымник (флюгарка).

Распушка и выдра – наиболее сложные в техническом плане элементы дымовой трубы. Они кладутся, удлиняясь от ряда к ряду на 60-70 мм по длине и ширине.

Распушку кладут, отступив от перекрыши на небольшое расстояние. Типовой вариант порядовки распушки:


Порядовка выдры (вариант):


Существуют варианты изготовления выдры из армированного железобетона и распушки со специальными заполнителями.

Но, если вами выполняется кладка дымовой трубы из кирпича, выбирать их советуем только в том случае, если вы имеете необходимый опыт работы.

Контроль вертикали производят по строительному отвесу. Кладка кирпича ведется со смещением швов (т. е. делается перевязка).

Основные критерии кладки

Дымоходная труба в установке практически не отличается от печной кладки. Отдельные затруднения вызывает монтаж в месте перехода через устройство уширения, расположенное выше кровли и чердачного перекрытия.

Главными требованиями кладки являются: плотное заполнение швов, вертикальность массива, гладкая поверхность дымоходных каналов.

Монтаж насадной трубы является продолжением кладки печи, потому что она стоит на перекрыше, и до места перехода через чердачное покрытие используется аналогичный печной кладке раствор. В месте, где труба переходит через потолок, устанавливается горизонтальная разделка, иными словами — уширение стенок, этот прием производится для обеспечения противопожарной безопасности. Одновременно с перевязкой швов производится монтаж трубы и разделки, внутренний канал делается с одним сечением, а наружная стена медленно расширяется — этот фактор достигается путем напуска наружной кладки в каждом ряду (на 4 см). 


Между деревянными балками и разделкой необходимо устанавливать огнеустойчивую теплоизоляцию, к примеру — базальтовые маты. В пределах чердачного помещения монтаж стояка ведется по маячку, таким образом, над разделкой выкладывается 2-3 ряда дымоходной трубы. От площади крыши на один из углов опускается отвес, для этих целей в точку обрешетки крыши, из которой этот отвес опущен, вбивается гвоздь.

После чего к гвоздю привязывается капроновая нить, нижний конец этой нити также прикрепляется к забитому в угол гвоздю, который располагается в шве кладки дымовой трубы. По этому углу и ведется кладка, которая проверяется угольником либо промером диагоналей через 3-4 ряда. Кладка дымоходной трубы выше кровли представляет некоторые затруднения, в этом месте кладка производится на сложном глино-цементном растворе.  


Типичные ошибки при возведении дымохода

В работе отопительного прибора могут быть сбои, связанные с дефектами, которые были допущены при кладке дымохода:

  1. Плохой фундамент или основа
  2. Неподходящий кирпич
  3. Недостаточная высота трубы относительно крыши дома влияет на снижение тяги.
  4. Некачественный раствор, применяемый при кладке, разрушается под воздействием различных температур – прочность и герметичность дымохода ухудшаются.
  5. Неравномерность внутреннего канала провоцирует появление завихрений – на стенах откладывается сажа/копоть.
  6. Допустимое отклонение по вертикали – 30°С на отрезке 2 м.              

Защита оголовка трубы

Со временем кирпичная труба разрушается от перепадов температуры и осадков. Защитить, а иногда и восстановить её помогают наши изделия – дымник и чехол на трубу:

Основные функции дымника на трубу:

  • Защита от попадания в трубу осадков и мусора
  • Защита от птиц (они могут устроить в трубе гнездо)
  • Усиление тяги
  • Защиты дымоходной трубы от разрушения.

К тому же дымник на крыше это просто красиво – составляя с кровлей единое целое, дымник придаёт трубе законченный вид.

Заказать дымник или защитный кожух на трубу можно отправив эскиз на [email protected]

Отделка печной трубы на крыше

Дымоход чаще всего является самой верхней точкой дома, завершающим штрихом в его облике. Важно поставить эту точку эффектно и грамотно, обеспечив безопасность конструкции, при этом не испортив внешний вид и функциональность крыши. Как это сделать?

Дымоход подвергается воздействию неблагоприятных факторов как снаружи, так и изнутри. Снаружи он противостоит порывам ветра, промокает под дождем, а зимой в «кармане» между его задней стенкой и поверхностью ската накапливается снег. Внутри же него циркулируют горячие газы, в составе которых имеются агрессивные химические вещества. Причем газы через дымоход проходят не постоянно, а периодически, подвергая конструкционный материал воздействию экстремального перепада температур.

Так что процесс отделки дымохода на крыше можно разделить на две части:

  • Утепление и декорирование трубы: помогает нейтрализовать факторы, действующие изнутри.
  • Оформление места примыкания к плоскости кровли: защищает материал дымохода и самой крыши от неблагоприятных воздействий снаружи.

Утепление и декорирование

Утепление дымохода

Самым страшным врагом дымовых труб является конденсат. Внутренняя поверхность трубы – очень горячая, а окружающий воздух, по сравнению с ней, довольно холодный. Пар, образующийся при горении топлива, закономерно конденсируется на внутренних стенках трубы по тому же принципу, по которому на не остывшей за ночь траве появляется роса. Однако жидкость, образующаяся в печных трубах, ничем не похожа на свежую прозрачную росу – она растворяет в себе газообразные оксиды, образующиеся при горении топлива, и превращается в раствор кислоты! Эта кислота способствует усиленной коррозии металлических труб, активному разрушению асбестоцементных и кирпичных дымоходов. В кирпичную кладку может впитаться так много влаги, что намокнет не только труба, но и близлежащие конструкции.

Конденсат сам по себе – вещество агрессивное, а в смеси с пеплом, также всегда присутствующим в дымовых газах, он образует вязкие смеси, которые крайне сложно удалить из трубы. Нарастающий на стенках липкий налет высыхает под воздействием горячего дыма и может катастрофически уменьшить сечение трубы, и даже перекрыть выход газам!

Образование конденсата — не единственная проблема неутеплённого дымохода. Если на улице холодно, а дымоход сделан из металла, который по природе своей легко нагревается и остывает, то дымовые газы при прохождении через него тоже заметно остывают. Тяга уменьшается, а иногда даже меняет свое направление – дым тянется в дом, эффективность отопительной системы падает.

Важно! Утепление необходимо в тех местах, где теплая труба контактирует с холодным воздухом, то есть в пределах неотапливаемого чердака и снаружи дома, после вывода трубы на крышу.

Смысл теплоизоляции трубы будет заключаться в уменьшении температурного градиента внутри и снаружи нее. При этом конденсат не сможет образоваться, а отходящие газы сберегут свое тепло.

Варианты утепления дымоходов

Сэндвич-дымоход

Раньше керамические, асбесцементные и металлические дымоходы дополнительно утепляли с помощью готовых теплоизоляционных цилиндров, или «по старинке» – обмотав минеральной ватой и зафиксировав проволокой. Но этот метод все дальше уходит в прошлое, так как сейчас подавляющее число производителей выпускают уже готовые утепленные дымоходы. Чаще всего это стальные сэндвич-дымоходы, которые представляют собой две трубы, между которыми проложен негорючий утеплитель. У таких дымоходов есть еще одно неочевидное преимущество – более мягкие требования к монтажу внутри помещений. Утепленные дымоходы не так сильно нагреваются, а значит риск воспламенения соседствующих с ними материалов намного ниже.

Трехкомпонентный керамический дымоход

Имеются на рынке и трехкомпонентные керамические дымоходы, также не требующие дополнительного утепления. В их составе собственно сам дымоход из огнеупорной керамики утеплен негорючим матом и защищен коробом из легкого ячеистого бетона.

Оформление примыканий с кровлей

Любой элемент, проходящий кровлю насквозь – это слабое звено, место потенциальной протечки. Дымоход – не исключение.

При продумывании нюансов герметизации примыкания, следует учесть место расположения трубы дымохода на кровле.

  • Если труба находится на коньке или вблизи него, то герметизировать примыкание довольно легко. Такое расположение препятствует накоплению снега и протеканию потоков воды в непосредственной близости от трубы.
  • Если труба находится на среднем или нижнем участке кровли, то гидроизоляция дымохода должна быть более надежной. Особенно в случае малоуклонных крыш. Возможно, придется позаботиться о защитной конструкции – разжелобке, разделяющем и отводящем потоки воды по боковым сторонам дымохода.
  • Если труба находится в ендове, то во время любого дождя или оттепели мимо нее протекают потоки воды. Это самый сложный для герметизации вариант расположения трубы, серьезное внимание следует уделить защите задней и боковых стенок дымохода. Хотя вообще, расположения труб в ендовах надо стараться любыми способами избегать.

Металлический фартук

Примыкание дымохода к кровле из металлочерепицы

Примыкание дымохода к кровле можно закрыть металлическим фартуком. Этот вариант отлично выглядит на крышах, покрытых профнастилом, металлочерепицей, а также на фальцевых кровлях. Элементы фартука должны возвышаться над верхними точками волны покрытия как минимум на 150 мм. Фартук можно «раскроить» из листового металла самостоятельно, а можно купить готовую сборную конструкцию.

Гидроизоляционные ленты

Примыкание дымохода к кровле без фартука

На крышах, облицованных штучными материалами – например, черепицей – металлический фартук будет выглядеть странно. Для таких крыш обычно используют гидроизоляционные самоклеящиеся ленты. Крупные производители черепицы часто сами выпускают подобные аксессуары, идеально подходящие к их основной продукции.

Хороший пример – полимерный рулонный материал «Вакафлекс», армированный алюминиевой сеткой с бутиловыми самоклеящимися полосами на нижней стороне полотна и защитной антиадгезионной пленкой.

Герметизация примыканий с помощью ленты Вакафлекс

Чтобы защитить места примыкания ленты «Вакафлекс» к стене от возможного отслаивания, а также от негативных воздействий окружающей среды, используют металлические планки примыкания. Они представляют собой профилированные полосы из окрашенного стойкого к коррозии алюминия размером 240х8 см. Нижняя часть планки имеет ребро, которым прижимает бутиловую основу ленты примыкания, а в верхней ее части есть небольшая отбортовка, подходящий для удобного нанесения каучукового герметика.

Защита мест примыкания ленты прижимной планкой

Эти доборные элементы выполняют не только утилитарные функции – они делают внешний вид кровли законченным и гармоничным.

Примыкание круглых дымоходов

Примыкание круглых дымоходов с помощью уплотнительной системы мастер-флеш

  • Примыкание круглых в сечении труб может оформляться с помощью металлической конструкции, состоящей из двух деталей – собственно, примыкания, а также фартука – колпака, через который проходит дымоход. При выборе стальной проходки обязательно следует учесть угол наклона крыши!
  • Можно использовать эластичную конструкцию — так называемый «мастер-флеш». В ее составе — эластичный колпак, фиксирующийся на трубе с помощью хомута, и металлический обруч, который крепится на поверхности кровельного материала. Плюс такого варианта – его не нужно подбирать в соответствии с углом наклона, положение эластичного фартука на кровле легко отрегулировать. Но, к сожалению, такой вариант пригоден для ограниченного количества кровельных материалов, и черепица в их число не входит!

Печная труба с колечками дыма – непременный атрибут домиков на детских рисунках. Став взрослее, мы также ценим тепло и уют, но вынуждены задумываться еще и о безопасности и надежности конструкций. Позаботьтесь о дымоходе на этапе проектирования дома, выберите наилучший из доступных материалов, закажите монтаж у квалифицированных мастеров и наслаждайтесь комфортом и функциональностью!

ГИДРОИЗОЛЯЦИЯ ТРУБЫ НА КРЫШЕ | LikaDO

Сегодня стало обычным делом строительство домов и дач с каминами, печным отоплением, сауной и твердотопливными плитами.
Поэтому одной из главных забот владельцев является “труба на крыше”, т.е. гидроизоляция печной трубы (или труб).
Если труба защищена неправильно, в результате перепада температур образуется конденсат, стекающий в дымоход. Его испарение мешает тяге и создает излишнее давление, под действием которого печь может даже разрушиться. Нужно ли говорить, насколько сложным будет ремонт?
Дымоходы, имеющие гидроизоляцию, равномернее прогреваются в процессе отапливания помещения, повышают теплоотдачу, делают использование печей безопаснее, поскольку конденсат уходит вместе с дымом. Правильно устроенная труба на крыше сулит владельцу дома спокойную жизнь.

Как правильно сделать гидроизоляцию трубы?

Сегодня рынок предлагает множество современных материалов, необходимых для герметизации трубы на крыше:
— оцинкованное железо;
— металлические уголки;
— диффузные мембраны;
— каменная вата;
— битумные мастики;
— герметики;
— портландцемент;
— жидкая резина и резиноая краска.
Никогда не производится гидроизоляция печных труб строительными и бытовыми герметиками на основе силикона, а также заливка стыков битумом.

Для производства работ понадобятся инструменты:
— линейка;
— нож или ножницы для раскройки рулонных материалов;
— малярная кисть;
— металлический валик;
— стамеска и молоток;
— шурупы или гвозди;
— рабочие перчатки.

Герметизация трубы проводится поэтапно и делается таким образом:

Вначале производится тщательная разделка поврежденного места кровли. Затем битумной мастикой к трубе приклеивается диффузная мембрана. Перед этим трубу грунтуют для лучшего сцепления с битумом. Затем края мембраны нужно завернуть наверх и проклеить мастикой. Теперь, в случае попадания влаги на мембрану, она через такое устройство не проникнет вглубь крыши.

Подойдет и способ изоляции дымовой трубы при помощи сварки. Единственным минусом сварочных работ является необходимость покрыть место изоляции для надежности эпоксидной шпаклевкой и покрасить. Особого внимания обычно требует место, расположенное над дымоходом. Жалеть герметик не следует, тогда не придется делать сложный ремонт.
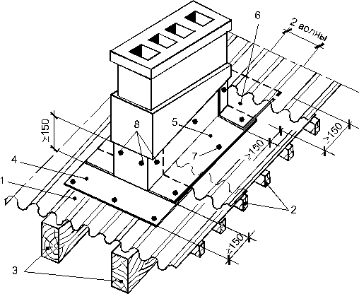
Оптимальным вариантом гидроизоляции печной трубы считают отделение примыкающей к дымоходу зоны от остальной крыши путем создания отдельного короба. Собрать его можно из деревянных балок и стропил. Обязательно соблюдают расстояние от трубы до стен короба: оно должно быть не меньше 15 см. Зону вокруг дымохода, после того как сделана разделка места протечки, необходимо заполнить негорючей теплоизоляцией (каменной ватой). Слои кровельного пирога к дымоходному коробу подводят традиционным способом. Для максимальной защиты от влаги места стыков короба и пленок герметично уплотняют специальными клеевыми составами, гарантирующими нескорый ремонт. Такое устройство подойдет тем, у кого кирпичная труба на крыше. Изоляция получается отличной.
Производители дымоходов и кровельного оборудования сегодня предлагают домовладельцам, у которых труба на крыше, специальное устройство для дымовых труб с круглым сечением – кровельный проход. Это плоский стальной лист-основание, соединенный с фартуком в виде колпака, через который пропускается круглый дымоход. Правильно не скреплять устройство с дымоходом «намертво», чтобы конструкция не повредилась при усадке крыши. На место стыка фартука и трубы надевают специальный стальной хомут («юбку») и закрепляют его термостойкой прокладкой. Через нее вода не попадает под фартук, герметизация получается надежной, и труба на крыше не доставляет хлопот.

Как защититься от протечек через стыки?

Понятно, что разделка и ремонт протекающей крыши – хлопотный и непростой процесс. Поэтому для герметичного примыкания к печной трубе кровельного материала мастера рекомендуют сделать внутренний фартук. Используются для этого нижние планки примыкания. Прикладывая планку к стенкам трубы, отмечают на стенке верхнюю кромку планки. По этой линии болгаркой пробивают штробу. Установку внутреннего фартука начинают с нижней стенки трубы. Заводят край фартука в штробу и затем монтируют его на остальные стенки с нахлестом в 15 см. Край планки, вставленный в штробу, герметизируют. Нижние планки примыкания нужно правильно подрезать по месту и закрепить саморезами.
После нижнего фартука очень важно правильно сделать «галстук» – это плоский лист гидроизоляции, который подкладывают под нижний элемент внутреннего фартука. Через галстук пойдет сток воды, его нужно установить в направлении вниз до карниза крыши. По краю галстука обычно советуют сделать бортик.
Затем сверх такого устройства монтируют кровельный материал. Когда покрытие кровли вокруг печной трубы завершено, нужно сделать наружный декоративный фартук. Обычно его изготавливают из верхних планок примыкания и устанавливают так же, как внутренний. Единственное отличие заключается в том, что верхнюю кромку его крепят без штробы, прямо к стенке трубы. Правильное устройство гидроизоляции трубы позволит много лет не вспоминать слово “ремонт”, и труба на крыше не станет головной болью.

Для бесплатной консультации со специалистом вы можете связаться по номеру +7 900 281-65-68

Как выполнить весь комплекс работ по кровельной разделке вокруг печной трубы правильно — СамСтрой

MesterulManole
8961 0 0

MesterulManole 10 октября, 2017Специализация: многолетний опыт отделочных работ жилых и офисных помещений, дач, загородных коттеджей и т. п. Хобби — велосипед во всех проявлениях


Если как следует обустроить периметр дымохода, можно предупредить протечки и подстраховаться от пожара

Нужно обойти трубы дымохода на кровельном скате и не знаете, как это сделать? Я расскажу о четырех простых способах, которые подойдут для решения этой задачи с разными типами дымоходов на разных типах кровельных систем. В итоге, вы сможете выбрать один из предложенных способов и применить его при строительстве своего дома.

Как обойти трубу металлочерепицей?

  • При обходе трубы металлочерепицей на крыше, ширина ската которой не превышает 80 сантиметров, предстоит решить две задачи.
  • В первом случае нужно перехватить воду со ската над трубой и разогнать ее в разные стороны от трубы, а также пустить воду с нижней части примыкания трубы.
  • 2 задача — не пропустить влагу, которая будет спускаться по стенкам трубы в дом.
  • Для решения двух задач при монтаже металлочерепицы необходимо вокруг трубы смонтировать металлический фартук, часть которого будет расположена в плоскости крыши и закреплена.
  • Другая часть будет подниматься вдоль трубы на 200 миллиметров выше плоскости кровли.
  • Поверх фартука монтируют планку примыкания с помощью герметика.
  • После монтажа фартука часть трубы под фартуком останется в недоступности.
  • Поэтому стоит проверить, чтобы гидроизоляция была тщательно заведена под боковые грани трубы и вне ее должны быть встроены водоотводящие желоба.
  • Для такого монтажа необходимо сделать на задней грани трубы дополнительную обрешетку, а примыкающий к трубе лист металлочерепицы отрезать по длине таким методом, чтобы линии резов были расположены над линиями штамповки.
  • Расстояние от верхней грани трубы для этих линий должно быть приблизительно 15 сантиметров.
  • Обрезки листов металлочерепицы могут быть использованы для дальнейшего монтажа.
  • В первую очередь стоит отметить, на боковых гранях трубы прочерчивают линии на 15 сантиметров выше верха кровельного покрытия, также необходимо подготовить нижнюю боковую правую и левую детали фартука.
  • Точно сделанные детали должны подниматься на боковую грань трубы на 15 сантиметров, заходить на трубу на 20 сантиметров, боковыми частями заходить за верхний гребень волны металлочерепицы, а нижней частью доходить до низа нижней детали фартука.
  • Верхняя часть фартука должна заканчиваться отбортовкой вверх.
  • Герметизируют все места соединений фартука.
  • В верхней части смонтируйте уплотнитель.
  • Верхние листы металлочерепицы разрежьте горизонтально в нижней части штатной резкой.
  • Там, где сделаны нижние штатные резки, добавьте по одному длинному листу и доведите уровень стыковки рядом со скатом.
  • Поверх закрепите фартук, верхняя деталь которого должна быть зажата между трубой и монтируемыми листами.
  • Чтобы предотвратить попадание воды в боковые грани трубы, под фартук закрепите жестко по периметру трубы планку примыкания и тщательно загерметизируйте зазор между боковыми гранями трубы и планкой примыкания.

модератор выбрал этот ответ лучшим
В наше время это не проблема (раньше всё начиналось и заканчивалось на цементно-песчаном растворе, которым и заделывалось это примыкание) специально под металлочерепицу есть устройства примыкания металлочерепицы к трубам дымохода, причём к любым, любого сечения и размеров.

В народе данное устройство называют “фартуком”, причём эти самые “фартуки” есть внутренние (под металлочерепицей) и наружные (на металлочерепице).

Но начинаются работы с монтажа дополнительной обрешётки вокруг трубы дымохода.

Далее гидроизоляция (специальная плёнка) с нахлёстом на трубу дымохода).

Монтаж внутреннего “фартука”.

Затем подрезаем (отрезаем) металлочерепицу по нужным размерам (советую не использовать болгарку, защитный слой загубите) и штатное крепление (обычно это саморезы кровельные).

Если дымоход (труба) кирпичный, то в кирпиче делается штроба (вот тут можно и нужно использовать болгарку, штробу лучше нарезать, а не выдалбливать перфоратором), под монтаж наружного фартука (крепится к планке которая в свою очередь монтируется в штробу), который устанавливается с нахлёстом на трубу дымохода, выше металлочерепицы на 200-и мм (ориентировочная цифра).

Это общее, могут быть нюансы, так как трубы дымохода изготавливаются из разного материала (к примеру металлические трубы обходят металлочерепицей иначе, есть необходимость соблюдения зазоров, применяются иные материалы), сечение и диаметр у них разный.

В целом данная работа требует определённого опыта и сделать её самостоятельно крайне сложно.

1.Намоканию теплоизоляционного слоя и, как следствие, утечку тепла из помещения,

2.Попаданию влаги на деревянные элементы стропильной системы и, как следствие, их гниению,

3.Нарушению вентиляции воздуха в подкровельном пространстве,

Предварительно, перед монтажом фартука нужно завести гидроизоляционный материал на дымоход и покрывать фартуком уже поверх него.

Некоторые мастера заводят верхний край фартука вглубь дымохода, для этого при помощи болгарки проделываются штробы в дымоходе, а верхние края загибаются вовнутрь этих штроб (это отчетливо видно на картинке номер 1).

Особенности установки дымоходной трубы

Не важно, гибкая кровля или жесткая установлена на доме – неправильно выполненный обход трубы, чаще всего, приводит к пожару
Каждый мастер, занятый проектированием и строительством кровельных систем, знает, что один из наиболее сложных этапов — это устройство примыкания кровельного пирога к дымоходу. Эта задача усложняется двумя моментами:

  • Наличие технологического зазора. При обустройстве примыкания по периметру дымовой трубы, так или иначе, остается технологический зазор. Для обеспечения требуемой герметичности, зазор нужно заполнить герметиком, который одновременно будет гидрофобным и долговечным;
  • Высокая температура трубы. Сегодня эта проблема решается установкой коаксиального дымохода, но, так или иначе, материалы, из которых собран узел примыкания, должны быть термостойкими. Только в этом случае будет обеспечена пожарная безопасность и продолжительный ресурс всей конструкции.

Тем не менее, правильно выполненный обход дымохода будет герметичным, пожаробезопасным и долговечным. О том, как и с применением каких материалов это правильно сделать читайте дальше.

ИллюстрацииОписание
Схема элементов примыкания. Чтобы последующая инструкция не вызывала вопросов, ознакомьтесь со схемой, по которой будут изготавливаться планки примыкания.
Для изготовления этих элементов применяется специальная кровельная жесть с антикоррозийным полимерным покрытием. Для резки жести используются обычные ножницы по металлу. Но, при нарезке элементов примыкания стараемся работать как можно аккуратнее, чтобы не повредить полимерное покрытие.
Обработка примыкания мастикой. Промазываем мастикой примыкание кровельного материала к трубе. Особо тщательно промазываем швы, где соседние элементы из мягкой черепицы соединяются друг с другом с нахлестом. Гидроизоляция по всему периметру должна наносится шириной не менее 150 мм.
После того как примыкание обработано, заполняем мастикой все зазоры. Мастику греем феном и посыпаем гравийной засыпкой.
Фиксируем нижний фартук. По ширине дымохода изготавливаем нижний фартук, как это показано на фото. Примыкание к дымоходу должно иметь ширину не менее 20 см, а примыкание к кровельному покрытию – не менее 30 см.
Фартук крепим саморезами с пресс-шайбой на резиновой подкладке. Крепление фартука выполняется с отступом в 30 мм от нижнего и верхнего края.
Изготавливаем и крепим боковые фартуки. Примеряя кусок жести к уже установленному нижнему фартуку изготавливаем боковые элементы, которые зеркально схожи друг с другом.
При нарезке деталей руководствуемся схемой, предложенной в начале инструкции.

Вырезанные из жести боковины крепим на свои места саморезами с прессшайбами.

Делаем и устанавливаем верхний фартук. Эту деталь также нарезаем по схеме. Затем приподымаем ряд черепицы на примыкании к трубе и промазываем мастикой.
Укладываем на мастику фартук и нажимая, приклеиваем его к кровле. Крепим фартук саморезами и сверху прикладываем черепицу.
Герметизируем примыкание. Обходим вокруг дымохода и поочередно откручиваем верхний край элементов примыкания. По краю деталей наносим полосу силикона. Также силикон наносим на отверстия, куда будем вкручивать саморезы.
Повторно вкручиваем саморезы и уже окончательно крепим элементы примыкания на своё место.
ИллюстрацииОписание
Подготовка к монтажу. На этапе устройства обрешетки, труба по линии примыкания кровли проклеивается термостойкой гидроизоляцией примерно на 10-15 см выше линии обрешетки.
После того как уложена черепица, меряется ширина нижней стенки трубы. С учетом сделанных замеров, плюс 10 см, отрезаем кусок ленты примыкания.
Клеим нижнюю полосу изоляции. С верхней части ленты снимаем защитную пленку и приклеиваем ленту к трубе. Снимаем защитную пленку с нижней части ленты и проклеиваем покрытие по волнам кровельного материала.
Чтобы лента лучше приклеилась, прокатываем ее поверхность валиком.
Приклеиваем боковины. Края нижней части ленты надрезаем как это показано на фото, и загибаем на боковые стенки трубы, где их приклеиваем.
Меряем боковые стенки по линии ската, как это показано на фото, плюс оставляем запас в 15-20 см. Снимаем защитную плёнку и приклеиваем ленту также как в нижней части. Запас покрытия должен равномерно располагаться с обеих сторон трубы.
Проклейка края боковин. Запас, оставленный по краям боковых лент, загибаем с верхней и нижней части трубы. Приклеенную ленту прокатываем роликом, чтобы между трубой и изоляцией практически не осталось воздуха.
Клеим верхнюю часть изоляции. Как и по другим сторонам трубы приклеиваем ленту, загибая края на боковины. Обязательно прокатываем края ленты роликом.
После того как верхняя часть ленты приклеена, укладываем поверх нее верхний ряд из металлочерепицы.
Монтаж планок примыкания. Планку фартука нарезаем и крепим саморезами с пресс-шайбой вокруг трубы. Монтаж начинаем с нижней части, переходим на боковины и оканчиваем верхней планкой.
В ходе монтажа внешнего или внутреннего фартука в обязательном порядке герметизируем верхний край планки термостойкими герметиками.

Предлагаем ознакомиться Инструмент для шлифовки бруса

ИллюстрацииОписание
Сведения о элементах примыкания. Для правильного устройства примыкания круглых дымоходов к кровле из профлиста применяются специальные проходки.
Проходка – это толстостенная гофра из устойчивой к ультрафиолету ЭПДМ резины. По периметру гофра армирована металлизированной полосой, что позволяет просто и надежно закрепить изделие на фальцевой кровле.
Диаметры и конструктивные отличия. Гофра в сужающейся части состоит из определённого количества колец с разным диаметром. В зависимости от диаметра используемой трубы, ножом срезается та или иная часть колец.
В продаже есть гофра двух видов: для плоских кровель и для крыш с уклоном свыше 20º. Изделия для плоских кровель имеют горизонтальную подошву, тогда как подошва гофры для кровель с уклоном скошена.
Монтаж и герметизация подошвы. Одеваем гофру на трубу, так чтобы армированная подошва достала до поверхности кровельного материала. Отгибаем край гофры и наносим на нее слой герметика. Прикладываем гофру к кровельному материалу и фиксируем по периметру саморезами с пресс-шайбой с шагом не более 5 см.
Герметизация примыкания к трубе. Отворачивая верхнюю кромку гофры, наносим полосу герметика. Прижимаем край гофры к трубе, а сверху одеваем и затягиваем специальный хомут.
ИллюстрацииОписание
Приготовление раствора. Так как температура трубы с одинарной стенкой высокая, раствор должен быть одновременно пожаробезопасным, устойчивым к появлению трещин и гидрофобным. Перечисленными качествами отличается асбестоцементная смесь, которая готовиться из расчёта: 1 часть цемента к 1 части асбеста.
Асбест размачивается в воде до образования вязкой каши, после этого к нему подмешивается необходимое количество цемента.

Очень важно ни при каких обстоятельствах не добавлять к раствору песок, чтобы не появились трещины.

Обмазка трубы. Готовый раствор подымаем на крышу и им обмазываем трубу по периметру. На полное высыхание обмазки требуется 2-3 суток, после чего печь можно топить, не опасаясь растрескивания.
Предложенный способ с одинаковым успехом можно применить как на мягких рубероидных кровлях, так и на конструкциях из шифера. Кроме того, этот способ подойдет вам независимо от того круглая труба или квадратная. Реальный ресурс такого примыкания составляет не менее 10-15 лет.

Установка дымоходной трубы на крыше, скаты которой располагаются под уклоном, должна выполняться по определенным правилам:

  • Дымоход может располагаться на расстоянии не больше 150 см от конька и не меньше 50 см возвышаться над ним.
  • Выход важно располагать не ближе 150 см и не дальше 300 см от конька.
  • Линия конька по отношению к верху дымохода, расположенного на расстоянии до 300 см, может иметь наклон не больше 10%.

Герметизация посредством обустройства короба

Существует способ герметизации посредством обустройства короба.

  • Между краем обрезанной кровли и трубой оставить расстояние согласно нормативам по пожаробезопасности.
  • Произвести обработку примыкаемого края крыши к дымоходу и самого дымохода теплозащитным материалом.
  • В этой зоне обустраивают короб из оцинкованной стали или профнастила. Нарезанные полосы до 40 см необходимо обшить по периметру и угла наклона ската.
  • Элементы короба (воротник) соединяют способом внахлестку и припаивают.
  • При скате крыши под углом более 30 градусов организовывают металлический отвод для стекания дождевых вод вокруг дымохода.
  • Заполняют пространство между трубой и коробом теплоизоляционным материалом. Можно использовать базальтовую вату.

Принцип обустройства прохода теплоизоляционными материалами применим для дымохода на скате и коньке с небольшими различиями. Обустройство дымохода по коньку предполагает изменения конструкции стропильной системы.

Накрывают кровельный настил рубероидом в нахлестку на стенки трубы, и производят монтаж фартука с последующим заполнением полимерными герметиками в зазоры между фартуком и стеной.

Устройство наружного фартука в месте примыкания к трубе

Следующий этап — это установка поверх внутреннего фартука и галстука основного покрытия. На обход дымохода монтируется верхний лист металлочерепицы. При этом он должен накрывать планку примыкания и заходить на нижний лист покрытия, захватывая первую волну в верхней части дымохода. Таким образом, смонтированный нижний фартук в обход трубы зажимается между двумя слоями листов металлочерепицы и полностью предотвращает попадание воды в подкровельное пространство.

Установив листы металлочерепицы на обход дымохода, начинают монтаж наружного фартука. Данный элемент практически никакой защитной функции не несет, а считается декоративной отделкой на проход трубы через кровлю. Его установка ведется практически по той же технологии, что и устройство нижнего фартука.

Если кирпичная или другая труба располагается на расстоянии в 1,5 м, то при установке ее высота должна превышать высоту конька не менее, чем на 0,5 м. Когда дистанция до конька находиться в пределах 1,5 – 3 м, то строение размещается на одинаковой высоте с коньком.

В ситуации, когда расстояние от кирпичной или любой другой трубы составляет больше, чем три метра, показатель высоты строения определяет условная линия. Она проходит под углом 100 от побега конька к горизонту.

Отделка трубы дымохода варианты и ход работ

Завершающая отделка дымоотводящего канала тесно связана с работами по изоляции кровли и проводкой трубы через нее.

Проход трубы через кровлю

Вывод трубы на крышу зависит от модификации самой трубы. Проще всего вывести круглую металлическую сэндвич-трубу. Для ее изоляции не потребуется дополнительного материала, поскольку она имеет один слой теплозащиты внутри сэндвича. Защитные фланцы можно приобрести в готовом виде. Они гибкие, что делает самостоятельную установку легкой.

Для вывода сэндвич-дымоотвода через кровлю следует:

  • Прорезать отверстие под диаметр трубы. Для чего снизу наносим разметку и просверливаем контурные метки. Вырезать удобнее со стороны крыши.
  • Надеть на трубу внутренний защитный фланец. Установить конструкцию. Смазать фланец огнеупорным герметиком, закрепить саморезами к крыше со стороны чердака.
  • На уличную часть трубы надеть защитный, гибкий, конусный фланец. Предварительно в нем прорезать отверстие, которое по диаметру чуть меньше дымохода. Чтобы процесс натягивания шел лучше, фланец и трубу промазать мыльной пеной.
  • Промазать фланец герметиком и прикрутить крепими саморезами поверх кровли.

Несколько сложнее вывести классический дымоход через кровлю. Для его проводки потребуется приобрести или соорудит защитный короб с теплоизоляционным слоем.

Алгоритм вывода квадратной трубы через кровлю:

  • В крыше и кровельном пироге прорезать отверстие, на 25 см большее по всем сторонам, чем квадрат трубы.
  • По размеру полученного отверстия соорудить защитный короб. Как правило, для короба используют листовую оцинковку. С ней легко работать самостоятельно, оцинкованное железо отвечает требованиям норм строительства, приобрести его можно недорого. Полученный короб должен иметь вид ящика, в центре которого вставлена труба, а оставшийся объем заполнен базальтовой ватой.
  • Короб установить в проем. Вывести трубу.

Далее наступает самый сложный и важный этап строительства дымоотвода – отделка трубы и герметизация кровли.

Варианты облицовки

Герметизация кирпичной или оштукатуренной трубы:

  • Разобрать кровлю на 70 см по периметру, в нижней части снять чуть больше. Это необходимо для сооружения защитного внутреннего фартука и галстука. Галстуком называется дополнительная защитная конструкция из металла, которая выполнена в виде длинного листа с загнутыми краями.
  • На небольшой высоте от кровли трубу проштробить по периметру на глубину 2-3 см. Удобно это делать болгаркой.
  • В углубление загнать металлический пристенный профиль, конец которого опустить на крышу.
  • Со всех сторон профиль закрепить к кровле саморезами с защитными шайбами.
  • В нижней части пристенный профиль крепится на галстук. Нижняя часть галстука выводится поверх кровельного материала.
  • Уложить и закрепить кровельный материал.
  • Поверх смонтировать верхний защитно-декоративный фартук.

Облицовка профнастилом применяется для защиты как кирпичных, оштукатуренных труб, так и для украшения сэндвич-дымоотвода, если этого требует архитектурное решение дома.

Распространенным вариантом облицовки является каркас при выводе двойной сэндвич-трубы от двух автономных печей (например, печь и камин). В этом случае одна прямоугольная труба, зашитая сайдингом, выглядит презентабельнее двух железных.

Алгоритм монтажа каркасной отделки трубы дымохода:

  • Вокруг трубы смонтировать каркас из металлопрофиля. Размер каркаса совпадает с отверстием, которое проделано для вывода трубы через крышу.
  • Между трубой и каркасом установить прямоугольники минеральной огнеупорной ваты.
  • Зашить каркас профнастилом со всех сторон при помощи специальных саморезов с защитными пресс-шайбами.

Как обделать трубу алюминиевым фартуком

Обшивка труб на крыше способом фартука из оцинкованного металла с полимерным покрытием является современным методом герметизации. В целом процесс предполагает монтаж фартука и заполнение полимерным герметиком образовавшихся зазоров.

Еще одним вариантом является обустройство алюминиевого фартука. Алюминиевой лентой обматывают трубу с тем расчетом, чтобы часть ее располагалась в зазоре между трубой и кровельным материалом. Заполняют зазор мастикой на основе битума и дополнительным приклеиванием ленты. По линии примыкания фартука к трубе закрепляют металлический профиль и дополнительно изолируют от попадания влаги.

Обход трубы профнастилом выполняется в процессе обустройстве фартука из примыкающих нижних планок.

Оборудование узла прохода через кровлю

Надежное примыкание крыши к трубе можно сделать только при условиях, что каркасная рама крыши собой представляет жёсткую систему, на какой одинаково делится нагрузка от покрытия и воздействий извне. Если дымотвод ставится без нарушение цельности обрешетки, то жесткость внешнего настила, сделанного из листовых материалов, сможет помочь обеспечить монтаж специализированной кровельной проходки с основой в виде листа металла.

Сооружение прямоугольного дымо отвода в большинстве случаев связано с потребностью выборочного разборки обрешетки. В большинстве случаев понадобится убрать часть стропильной ноги. Чтоб не пострадала несущая способность системы стропил, вокруг дымо отвода устанавливается специализированный каркас из дерева, на который крепится водоизоляционный и пароизоляционный слой кровельного пирога. Полотно водоизоляции жмётся обрешеткой и контробрешеткой, пароизоляция – компонентами каркаса для установки облицовки помещения под кровлей. Размер зазора между каркасом и дымоходом обязан отвечать условиям СНиП, он наполняется негорючим термоизолятором – каменной ватой

.

Система кровельного пирога обязана быть постоянна по всей территории кровли.

При обустраивании узла прохода дымо отвода через кровлю большое внимание уделяют покрытию герметиком соединения трубы и кровельного материала. Нужно обеспечить водоотвод, стекающей по кровельному скату и самой трубе. В большинстве случаев при исполнении примыкания нужен монтаж фартука.

Примыкание черепичной крыши к дымоходу

Примыкание крыши к дымоходу часто создается с применением фартуков, созданных именно для конкретных материалов для кровли и продающихся в виде набора составляющих. Керамическая и цементно-песочная черепица укомплектовывается гибкими лентами, сделанными из сплава алюминия и наделёнными клеящим слоем на одной из сторон.

Чтоб покрывать герметиком примыкание, эластическая лента клеится вдоль соединения, при этом одной половиной она примыкает к трубе, а второй – к кровле, повторяя изгибы черепичного покрытия. Потом часть сверху ленты требуется закрепить профильной металлической планкой. Чтобы это сделать применяются термоустойчивые дюбеля. Установочные места элементов крепежа и стык планки с трубой обязательно отделываются герметиком.

Примыкающий узел крыши из эластичной черепицы подготавливается по такой же ноу-хау, но взамен гибкой ленты из металла ложится ендовой ковер или рядовая черепица, какая была заблаговременно заведена в дымотвод.

Обустройство фартука из алюминиевой ленты

Второй способ герметизации трубы выполняется посредством обустройства фартука из алюминиевой ленты. Следует обойти два слоя алюминиевой ленты по периметру трубы, так чтобы часть ленты утопала в зазоре между стеной трубы и кровельным покрытием. Чем замазать можно? Замазать следует битумной мастикой c последующим проклеиванием ленты. Линии примыкания фартука к трубе фиксируют металлическим профилем и покрывают гидроизолирующей пленкой.

Обход трубы на крыше профнастилом можно сделать посредством обустройства фартука с применением примыкающих нижних планок листов. Принцип укладки сводится к организации первой планки к боковой стене дымохода с фиксированием отметки верхнего уровня. На отметке выполняют штрабу с последующим заполнением герметика. Следующий рабочий процесс – организация металлического галстука c обустройством бортиков по краю для отвода вод. Потом крепится галстук на верхней кромке.

Для качественного покрытия профнастилом вокруг трубы необходимо сделать обрешетку. Она обеспечит надежное крепление нижней планки примыкания и края профнастила вдоль стенок дымохода.

Точки примыкания покрытия к дымоходу

Специально под металлочерепицу было разработано устройство примыкания кровельного покрытия к трубам дымоходов. Его обычно называют фартуком. Укладка (установка) такого устройства требует некоторых подготовительных работ. Для этого набивается дополнительная обрешетка возле дымохода, также следует подготовить металлочерепицу (обрезать листы) и уложить на обрешетку уплотнительные слои.

Схема обхода трубы металлочерепицей.

Когда подготовительные работы завершены и дымоход успешно выведен, приступают к герметизации стыка крыши с трубой. Такие работы делятся на несколько этапов. Первый — монтаж внутренних защитных устройств (фартуков). Далее на него монтируется металлочерепица. После чего устанавливается наружный фартук.

Если установка фартука выполняется своими руками, то следует подготовить некоторые инструменты: диски для болгарки и сам инструмент, молотки (деревянный и обычный), средства для нанесения разметки (метры, линейки, уровни, фломастеры, карандаши и т. д.). Далее следует оштукатурить поверхность трубы для лучшего прилегания изоляционных слоев. После этого приступают к выполнению обхода.

Герметизация посредством обустройства короба

Существует способ герметизации посредством обустройства короба.

  • Между краем обрезанной кровли и трубой оставить расстояние согласно нормативам по пожаробезопасности.
  • Произвести обработку примыкаемого края крыши к дымоходу и самого дымохода теплозащитным материалом.
  • В этой зоне обустраивают короб из оцинкованной стали или профнастила. Нарезанные полосы до 40 см необходимо обшить по периметру и угла наклона ската.
  • Элементы короба (воротник) соединяют способом внахлестку и припаивают.
  • При скате крыши под углом более 30 градусов организовывают металлический отвод для стекания дождевых вод вокруг дымохода.
  • Заполняют пространство между трубой и коробом теплоизоляционным материалом. Можно использовать базальтовую вату.

Принцип обустройства прохода теплоизоляционными материалами применим для дымохода на скате и коньке с небольшими различиями. Обустройство дымохода по коньку предполагает изменения конструкции стропильной системы.

Накрывают кровельный настил рубероидом в нахлестку на стенки трубы, и производят монтаж фартука с последующим заполнением полимерными герметиками в зазоры между фартуком и стеной.

Примыкание профнастила к печной трубе с прямоугольным сечением

В настоящее время производители позаботились о том, чтобы места примыкания и стыки между некоторыми элементами кровельной конструкции были надежно защищены от проникновения атмосферных осадков. Для этого выпускаются доборные элементы для ендовы, конька и участков примыкания. Такие же доборные материалы есть и для герметизации зазором труб, проходящих через профнастил. И этот элемент носит название фартук.

Основное предназначение фартука – это собрать всю воду, стекающую по печному дымоходу и по скатам крыши, и отвести ее к карнизу в систему водостока. Но есть в монтажном процессе установки фартука один очень важный момент. Необходимо правильно провести гидроизоляцию

Всем известно, что под профнастил обязательно устанавливается гидроизоляционная пленка, и неважно, крыша будет утепленной или нет. Так вот в месте, где труба проходит через кровельную конструкцию, необходимо сделать разрез под устанавливаемую печную трубу, оставив края разреза шириною 50-100 мм, которые впоследствии будут закреплены на самой трубе

Но это еще не все. В местах примыкания необходим усиленный гидроизоляционный слой. Поэтому чаще всего под фартук устанавливается специальная гидроизоляционная лента. К тому же она должна располагаться под верхними планками фартука и ложится частично на профнастил. По сути, получится двойная защита. Схема укладки гидроизоляции следующая:

  • Сначала она наносится на нижний край дымохода.
  • Затем заделываются стыки примыкания по бокам трубной конструкции.
  • И последний – это верхняя кромка, ближняя к коньку кровли.

Нередко встречаются такие ситуации, когда появляется необходимость провести печной дымоход через уже возведенную крышу из профнастила. Сделать это сегодня несложно, но есть тут один нюанс. Необходимо отверстие (проход) в профнастиле делать меньше размеров трубы приблизительно на 1,5-2,0 см. Понятно, что дымоход в такой проход не влезет, поэтому кромку по углам отверстия разрезают и выгибают. Эти кромки после установки дымохода плотно прикладывают к нему и закрепляют. Это еще один защитный барьер для протечек. При этом под сам профнастил обязательно укладывают нижнюю планку фартука и поверх нее гидроизоляционную ленту.

Добавим, что сложность сооружения гидроизоляционного барьера зависит в основном от того, в каком месте устанавливается труба.

Варианты заделки места примыкания материала кровли к стене

Из-за микроскопических подвижек главным материалом для герметизации линии примыкания считаются:

  1. Силиконовые герметики и уплотнители на органо-кремниевой основе. Они обладают прекрасной адгезией и дают высокую эластичность шва, при отсутствии воздействия ультрафиолета солнца шов из силикона в зоне примыкания кровли способен простоять не менее десятка лет;
  2. Битумные и полиуретановые мастики используют для наклейки мягкой кровли и стыковых лент, при правильном применении дают очень плотное и нежесткое соединение;
  3. Полимерные и резиновые уплотнители плохо переносят высокие температуры и солнечные лучи, но в ряде случаев незаменимы для уплотнения козырьков в местах примыкания кровли на стене;
  4. Композитные алюминиевые или медные ленты, выдерживающие относительно высокую температуру. Являются специально разработанным материалом для уплотнения участка стенки дымохода и примыкания материала кровли.

Герметизация стыка в месте примыкания профнастила к стене

Наиболее сложной ситуацией считается схема, при которой кровельный материал имеет примыкание боковым краем профнастила или металлочерепицы к вертикальной поверхности стенки. Для заделки шва используют накладной карниз, закрепляемый на стене одной полкой, а второй полкой прижимающей край кровли. Обустройство места примыкания выполняется в следующем порядке.

На высоте 10-15 см над уровнем кровли в стене вырезается с помощью перфоратора или болгарки с установленным кругом по камню желоб сечением 3х2 см. Точную разметку линии желоба можно получить, если уложить карниз с резиновой прокладкой на кровлю в зоне примыкания к стене. Нижний край желоба необходимо аккуратно скруглить или выполнить в виде уклона. Желоб выполняется на всю длину уложенной кровли. Вырезанная канавка потребуется для того, чтобы закрепить верхний край уголкового карниза по всей длине кровли. Этот нехитрый прием позволит спрятать шов между полкой карниза и стеной в толщу камня. Вода, стекающая по стене, и даже косой дождь не смогут перетекать в пространство между камнем и металлом.

Чтобы закрепить карниз, потребуется с помощью перфоратора пробить через каждые 30 см отверстия под установку пробок, деревянных или пластиковых. После выполнения этой операции необходимо подготовить поверхность крыши, примыкающей к стене, под установку карниза. Самым простым способом является укладка слоя цементно-песчаного раствора и аккуратное выравнивание планкой волнистой поверхности. Если край настила в зоне примыкания к стене имеет ровную поверхность, от этой операции можно отказаться.

На поверхность профнастила укладываем резиновую прокладку и устанавливаем уголковый карниз. По размеченным местам под пробки в стене сверлим в металлической стенке отверстие под саморезы. На последнем этапе наклеиваем с помощью герметика прокладку на край профнастила и наносим тонкую полоску силикона на поверхность желоба, после чего устанавливаем карниз на место примыкания и фиксируем с помощью саморезов.

Нижняя полка карниза обычно не крепится к резиновой прокладке. Это позволяет избежать обрыва приклеенной прокладки и разгерметизации стыка при деформации кровли, под нагрузкой полка просто скользит по поверхности резины. При правильном выполнении монтажа прижимающего усилия металлического уголка достаточно, чтобы обеспечить защиту от влаги.

Заделка места примыкания мягкой кровли

Обустройство места примыкания мягкой кровли к стене можно закрыть и герметизировать с помощью нескольких простых операций. Укладка мягкой кровли должна выполняться с нахлестом на стену. Нахлест приклеивается на стену, по возможности с вынесением части полотна кровли на парапет. По поверхности парапета уложенная кровля крепится с помощью планки. Наклеивание выполняется с применением горячей битумной мастики.

При заделке стыка в случае примыкания мягкой кровли к стене боковым краем, размер нахлеста полотнища на стену выбирают таковым, чтобы сложенный вдвое край был по размеру равен высоте карниза, которым будет закрываться стык. Использование декоративной накладки размером 10-15 см значительно улучшает внешний вид. Если последнее не имеет особого значения, или заделку зоны примыкания необходимо выполнить на бетонной плите, на крыше, проще и надежнее заклеить стык пластырем из геотекстиля, уложенным на битумной мастике или клее. Чаще всего используют 3-4 пластыря с обязательной процедурой прикатывания наклеенного покрытия с помощью резинового валика.

Заделка стыка края кровли в месте примыкания к поверхности дымовой трубы

Особенно требует тщательной заделки проход дымохода через кровлю из-за колебаний температуры самой трубы и частично контактирующих с ней конструкций. Схему заделки выбирают в зависимости от материала трубы, кровли и способа, которым реализован проход через кровлю.

Если верхний участок трубы сложен из кирпича, и для покрытия крыши применяются негорючие материалы – шифер, профнастил или металлочерепица, в этом случае проще всего выполнить заделку места примыкания кровли по приведенной на рисунке схеме, с небольшими дополнениями. Прежде всего, узел прохода через кровлю в обязательном порядке дополняется термоизоляцией в виде пояса на трубе из листового асбеста, толщиной 10-12 мм. Гидроизоляция в месте контакта с горячей поверхностью кирпича может заделываться высокотемпературным герметиком без использования традиционных битумных или полимерных мастик и пленок.

Согласно нормам противопожарной безопасности, удаление горючих материалов от элементов дымохода должно составлять не менее 35см. Кроме того, между стенками деревянной коробки на стропилах под вывод дымовой трубы обустраивают слой изоляции из базальтового волокна.

Проще заделать место примыкания для цементно-асбестовой трубы. В этом случае вокруг трубы выполняется кольцевая отмостка из куска профнастила, и стык заделывается цементным раствором с добавкой асбестового или базальтового волокна.

Насадки из теплостойкого силикона можно использовать и для дымовых труб из металла, но только при условии, что температура стенки трубы не превышает 230 о С. Это температура начала обугливания сухой сосновой щепки, если приложить ее к металлической поверхности.

Более надежным способом заделки места примыкания будет специальная металлическая насадка на дымовую трубу. Хорошее рассеивание тепла с поверхности металла позволяет устанавливать переходник непосредственно на профнастил или металлочерепицу с прокладкой из высокотемпературного силикона. Для кровли из полимерных материалов и мягких рулонных покрытий такой вариант лучше не использовать, даже при наличии теплоизоляции, ее может быть недостаточно, и насадка проплавит покрытие.

Как обделать трубу алюминиевым фартуком

Обшивка труб на крыше способом фартука из оцинкованного металла с полимерным покрытием является современным методом герметизации. В целом процесс предполагает монтаж фартука и заполнение полимерным герметиком образовавшихся зазоров.

Еще одним вариантом является обустройство алюминиевого фартука. Алюминиевой лентой обматывают трубу с тем расчетом, чтобы часть ее располагалась в зазоре между трубой и кровельным материалом. Заполняют зазор мастикой на основе битума и дополнительным приклеиванием ленты. По линии примыкания фартука к трубе закрепляют металлический профиль и дополнительно изолируют от попадания влаги.

Обход трубы профнастилом выполняется в процессе обустройстве фартука из примыкающих нижних планок.

Герметизация кирпичной дымовой трубы — как обойти и закрыть правильно

После того, как сделано гильзование кирпичного дымохода нержавеющей трубой, нужно выполнить герметизацию. Стыки кровли и дымохода из кирпича герметизировать сложнее, поэтому к процессу следует подходить более ответственно. Дело в том, что труба и продукты горения имеют разную температуру, в результате чего в трубе может образовываться конденсат. Известно, что под воздействием влаги кирпичная труба очень быстро разрушается, следовательно, выступающая часть трубы требует обязательного утепления

При выборе материалов для решения вопроса, как обделать трубу на крыше профнастилом, важно учитывать их внешний вид и устойчивость к определенным условиям.

Непосредственно утепление выполняется следующим образом:

Трубу обкладывают клинкерным кирпичом. Затем обмазывают штукатурным раствором или обшивают подходящим материалом

При этом очень важно использовать материалы, устойчивые к возгоранию.. Помимо этого герметизацию свободного пространства между трубой и кровельным материалом выполняют с помощью цементного воротника, имеющего повышенный коэффициент влагостойкости

Дальнейшее обустройство такого дымохода предполагает использование каркаса из металлических профилей и крепление декоративного воротника ил листовой стали.

Помимо этого герметизацию свободного пространства между трубой и кровельным материалом выполняют с помощью цементного воротника, имеющего повышенный коэффициент влагостойкости. Дальнейшее обустройство такого дымохода предполагает использование каркаса из металлических профилей и крепление декоративного воротника ил листовой стали.

В этой ситуации следует учитывать некоторые особенности:

  • Зазор, ширина которого не превышает 0,5 см, заполняют термостойким силиконовым герметиком.
  • Зазоры более 1 см заливают цементным раствором и одевают поверх фартук.

Как заделать проход трубы на крыше из профнастила своими руками

При правильной укладке профнастила на крышу дома можно гарантированно избежать протечек во время дождей и весеннего таяния снега. По этому критерию можно судить о надежности кровли. Следует помнить, что любая конструкция крыши состоит из множества элементов. В список входят ендовы, фронтальные планки и конек. Однако, исходя из практики, самым рискованным в плане протечек элементом является печная труба.

Несколько десятилетий назад печники справлялись с этой проблемой при помощи утолщения кирпичного дымохода. Однако такая работа требует определенных знаний и навыков, а современные конструкции все чаще возводят из металла. Обычно дымоходы выполняются с круглым сечением. Разобраться, как заделать трубу на крыше из профнастила, поможет простая инструкция.

Примыкание кровли к круглой трубе

В частном секторе также распространен вывод вентиляции или дымохода по средствам трубы круглого сечения. Чаще всего это касается сэндвич (утепленной) трубы отопления. Казалось бы, решение с герметичным примыканием к трубе круглой формы гораздо проще и не требует профессиональных навыков в монтаже. К тому же на любом строительном рынке есть готовые материалы для изоляции стыка дымоходной трубы и кровли. К самым популярным и, чуть ли ни единственным, относятся кровельные проходки Master Flash с большим ассортиментом размеров и цветов. Простота монтажа, универсальность (применим для разных видов кровли) и доступная цена давно сделали этот материал «народным».

Уплотнитель Мастер Флэш состоит из термостойкой гофрированной EPDM-резины и алюминиевого основания. Еще одним плюсом материала является возможность установки на уже смонтированные трубы, что очень удобно в случае быстрого ремонта крыши (например, при устранении протечки или замене кровельного материала).

Монтаж также прост, как и сам материал.

Монтаж Мастер Флеш

Необходимо смазать кровельным герметиком место соединения основания Мастер Флэша с кровлей, а затем закрепить уплотнитель к поверхности при помощи кровельных саморезов. Однако, как показывает практика, по прошествии некоторого времени герметичность примыкания начинает постепенно ухудшаться. В первую очередь это связано с качеством герметика и атмосферными явлениями (перепады температуры, порывистый ветер, дождь или снег могут нарушить герметичность соединения).

Для того, чтобы максимально обезопасить крышу от протекания в узлах кровли с круглой трубой рекомендуется частично «заводить» верхнюю часть проходки под кровельный материал или планку конька.

Установка Master Flash рядом с коньком

Таким образом можно надежно установить узел примыкания трубы и кровли.

Процесс обустройства гидроизоляции

Рассмотрим последовательность технологического процесса обустройства гидроизоляции.

Для дымохода круглой формы из оцинкованной стали пространство между трубой и покрытием кровли герметизировать значительно легче. В этом варианте применяют заводские эластичные проходки, которые максимально примыкают к профлисту.

Прокладки представляют алюминиевый фланец с соединительной частью из силикона или резины EPDM. Они могут быть разных размеров от 3 до 600 мм и в исполнении под разным углом, цельные и разъемные. Срок их эксплуатации большой. Такие приспособления можно использовать для плоских крыш и под углом.

Герметизация такими проходками – простейший способ изоляции в местах стыка крыши и выходного отверстия.

Итак, как же происходит процесс?

  • Сначала определяют размер отверстия на крыше и обрезают резиновую гофру соответственно этих параметров. При организации вывода дымохода на скатных крышах необходимо отверстие 2-5 сантиметров по диаметру.
  • Потом одевают прокладку.
  • Для фланца выбирают нужную форму.
  • Заливают канавки на изнаночной стороне фланца герметиком и плотно прижимают к настилу кровли, и дополнительно крепят саморезами c резиновыми головками, которые расплющиваются в процессе закручивания. Их применяют для кровельных работ, чтобы исключить попадание воды внутрь. В работе с обычными саморезами используют резиновые прокладки.

Важно: поверхность проходки и кровли должны быть сухими и чистыми

Три варианта самостоятельного обустройства дымохода снаружи

Существует 3 варианта, где человек без особой подготовки сможет все сделать своими руками. Первый вариант касается кирпичных труб, которые в облицовке не нуждаются, но вам нужно загерметизировать стык с кровлей. После этого идет каркасный вариант и вариант с готовыми заводскими решениями.

Гидроизоляция трубы на крыше должна проводиться до укладки кровельного материала. Если кровля уже лежит, то придется ее частично разбирать. Снимается весь периметр на 50–70 см вокруг, плюс нужно снять нижнюю часть кровли от трубы и до края ската.

Схема герметизации периметра кирпичной трубы на скатной кровле.

Из материалов нам понадобится пристенный металлический профиль. Его можно согнуть из оцинковки своими руками или купить готовый. Профиль состоит из 4 частей, которые при монтаже накладываются друг на друга.

Наружный фартук для трубы однозначно лучше покупать, причем покупать желательно вместе с кровельным материалом, так проще подобрать цвет.

Так называемый галстук представляет собой лист кровельного железа с загнутыми по бокам бортами. Он укладывается от нижней части трубы до края ската и заводится под нижнюю секцию пристенного профиля.

Для того чтобы герметично соединить кирпичную трубу с пристенным профилем нам нужно прорезать болгаркой на трубе штробу глубиной порядка 20–30 мм. В эту штробу вставляется загнутый край профиля.

Под пристенный профиль на трубе прорезается штроба по всему периметру.

Дальше вставляем загнутый край профиля в штробу и заполняем штробу герметиком. После чего фиксируем все 4 части профиля и галстук, заведенный снизу саморезами с прессшайбами. Поверх всей этой конструкции укладывается кровельный материал.


Схема обустройства верхнего фартука для печной трубы.

Верхний фартук крепится к трубе саморезами по всему периметру. На трубу он должен заходить не менее чем на 100 мм. Нижняя часть фартука зачастую делается из мягких битумных материалов. Ее обжимают вокруг рифленой кровли и приклеивают к этой кровле мастикой или специальным клеем.

Фартук обязательно приклеивается к кровле.

Схема работает примерно так: основное количество влаги отводит от трубы верхний фартук, но если этот барьер не справился со своей задачей и влага, попала под кровлю, то ее соберет пристенный профиль и вода стечет по галстуку с крыши.


Схема двойной гидрозащиты кровли в секторе примыкания к печной трубе.

Этот способ хорошо подходит для утепления и облицовки дымохода профнастилом, сайдингом и прочими подобными материалами. Для начала основа обшивается металлопрофилем, на него позже мы будем крепить профнастил. Каркас лучше делать из стенового профиля под гипсокартон, он шире, чем потолочный.

Каркас из металлического профиля более долговечный.

С металлопрофилем работать несложно, но если вы не уверены в своих силах, то можно соорудить каркас из деревянных брусков. Правда деревянный каркас нужно будет хорошо пропитать антипиренами, антисептиками и водоотталкивающим составом. Между рейками каркаса, для утепления трубы закладываются плиты плотной минеральной ваты.

Дымоходы утепляются только плитами плотной минеральной ваты.

Профнастил или любой другой листовой материал к рейкам каркаса прикручивается саморезами с прессшайбами. Венчает всю эту конструкцию зонтик для защиты от дождя.


Схема утепленной и облицовки трубы в разрезе.

С круглыми трубами сейчас вообще никаких проблем нет. Для них выпускаются специальные гибкие фартуки. По опыту смонтировать такой фартук можно максимум за пару часов. Фото-инструкция по монтажу такого фартука дана ниже.

Пошаговая инструкция по монтажу гибкого узла примыкания для круглой трубы.

  1. Выбираете нужный вам диаметр трубы и вырезаете в мягком полимерном конусе отверстие;
  2. Натягиваете конус на трубу, примыкание должно быть плотным;
  3. Обжимаете нижнее кольцо из мягкого металла по форме кровли;
  4. Густо смазываете периметр под кольцом герметикам;
  5. Прикручиваете кольцо к кровельному материалу саморезами с прессшайбами.

Решить задачу, как обойти трубу на крыше профнастилом, достаточно просто. Для этой цели используют специальные прокладки, которые очень плотно прилегают к кровельному материалу.

Прокладка выполнена в виде алюминиевого фланца, оснащенного силиконовой или резиновой соединительной частью. Фланцы имеют размер от 3 до 600 мм, могут быть выполнены в угловом варианте, цельной или разъемной формы. Изделия характеризуются большим сроком эксплуатации и возможностью использования на разных типах крыш.

Герметизация таким способом позволяет легко и просто изолировать места стыка выходного отверстия и кровли, а также решить проблему, как закрыть трубу на крыше из профнастила.

Процесс выполнения работ по гидроизоляции дымохода выглядит следующим образом:

  • Измеряют величину выходного отверстия и в соответствии с полученными значениями режут резиновую гофру. Вывод дымоходной трубы на скатной крыше должен иметь отверстие, диаметр которого составляет от 2 до 5 см.
  • Одевают прокладку.
  • Выбирают фланец нужной формы.
  • В канавки, расположенные с изнаночной стороны фланца, заливают герметик и сильно прижимают к кровельному покрытию. Дополнительное крепление выполняют с помощью саморезов с резиновыми головками, которые становятся плоскими при закручивании. Эти крепежные элементы используют при выполнении кровельных работ, так как при этом полностью исключается попадание воды внутрь. Если крепление выполняют обычными саморезами, то рекомендуется пользоваться резиновыми прокладками.
  • Очень важно, чтобы гидроизоляционные работы проводились на сухой и чистой кровле.

Особенности монтажа дымохода на металлочерепице

Устройство узла прохода на профилированной металлической кровле практически ничем не отличается от разделки трубы на других видах кровельных покрытий:

Кирпичная труба на крыше из металлочерепице может устанавливаться в теплоизоляционном кожухе или без такового, но стены дымохода, примыкающие к обрешетке и стропилам, необходимо изолировать металлом и термоизоляцией; Из-за волнистого профиля кровельное покрытие намного лучше собирает и удерживает снег на поверхности крыши, чем шифер или профлист

Это означает, что узел прохода трубы через кровлю из металлочерепицы в зимнее время будет постоянно заливаться талой водой; Особое внимание уделяется выбору места для установки трубы. Чем ближе дымоход к коньку крыши, тем лучше тяга, и меньше проблем с обратным потоком.

Но в этом случае потребуется поднять дымоход на максимальную высоту, а значит, нужно устанавливать крепления и увеличивать жесткость дымохода. Для массивной печной трубы проход через металлочерепицу нужно будет дополнительно фиксировать на балках потолочного перекрытия. Если использовать современные двойные конструкции, то для установки трубы — сэндвича придется использовать растяжки и пояса. Иначе гибкая и неустойчивая труба под ударами ветра быстро разрушит узел прохода, юбку и гидроизоляцию кромки металлочерепицы.

Говоря о креплении ендовы, стоит заметить, что по нормативам саморезы должны быть закручены на расстоянии 25 см от оси ендовы. Форма желоба этого элемента кровли способствует организованному движению воды. Поэтому никаких протечек не бывает.

Никаких прокладок или уплотнителей при входе самореза в фартук не ставят, а значит невозможно гарантировать отсутствие протечек в дальнейшем.

Сегодня многие фирмы производители заняты разработкой технологий по изготовлению фартуков для обхода трубы.

Обратите внимание

Не стоит пренебрегать таким важным элементам кровли, как обход трубы.

Обеспечить хорошее примыкание кровли к трубе можно и другими способами, которые позволяют надежно защищать подкровельное пространство от влаги, да и выполнить их совсем несложно. Обход можно выполнить с помощью металлического фартука, как представлено в инструкции по монтажу металлочерепицы М28 фирмы УНИКМА, так же с помощью фартука по фальцевой технологии, с применением универсальных окладов фирмы FAKRO или лентой из гофрированного алюминия.

Хочу напомнить, что наша бригада всегда готова помочь Вам смонтировать кровлю. Звоните.

Установка дымоходной трубы на крыше, скаты которой располагаются под уклоном, должна выполняться по определенным правилам:

Дымоход может располагаться на расстоянии не больше 150 см от конька и не меньше 50 см возвышаться над ним. Выход важно располагать не ближе 150 см и не дальше 300 см от конька. Линия конька по отношению к верху дымохода, расположенного на расстоянии до 300 см, может иметь наклон не больше 10%.

Правила примыкания

Строительные нормы СНиП не имеют строгой регламентации по месту расположения дымохода, но содержат указания по высоте данного элемента:

  • Высота дымохода должна превышать высоту конька минимум на 0,5 метра, в случае ее расположения на расстоянии 150 см или меньше от самого конька;
  • При нахождении от конька на 1,5 – 3 м, труба дымохода может равняться по высоте уровню конька, или превышать его;
  • Если расстояние от конька до трубы превышает значение 300 см, то ее высота должна быть в один уровень с коньком, или не ниже, чем линия, проведенная от конька, под углом в 10 градусов к линии горизонта.

Все остальные особенности выполнения, которых требует устройство примыкания кровли к трубе остаются без нормативных рекомендаций, а потому могут выполняться по собственному усмотрению.

Но учитывая опыт профессионалов, устанавливать трубу на крыше лучше ближе к коньку, по таким причинам:

  • Данное расположение облегчает процесс качественной герметизации и обеспечивает покрытие без мест протеканий;
  • Чем ближе труба находится к коньку, тем меньше места остается для скопления за ней снега и воды, снижая риск протечек.

Внимание! Конденсат может образовываться как внутри, так и на поверхности трубы, что приводит к образованию наледи в холодное время года. Она повреждает стенки дымохода, значительно ухудшая тягу и снижая срок эксплуатации.

Круглая труба

Крыша, обустроенная дымоходом круглого сечения – один из распространенных вариантов частного строительства.

Для обеспечения качественного примыкания к крыше такой трубы выпускаются стандартные трехслойные конструкции. Центральная часть такой многослойной системы выполняется из теплоизоляционного материала. Комплект дополняется стальным плоским листом и фартуком-колпаком, в который и вставляется дымоходная труба.

Выбирать подходящий комплект стоит в зависимости от угла наклона ската. Для наиболее распространенных углов и выпускаются типовые системы. При помощи таких конструкций сделать самостоятельное качественно примыкание достаточно просто.

На плоскости крыши производится плотное и жесткое закрепление пластины примыкания. На колпаке срезается верхушка, размер среза при этом должен позволять трубе пройти в отверстие плотно, с отсутствием зазоров. Стальным хомутом с прокладкой из термостойкого эластичного материала к трубе прижимается верхний край фартука.

Внимание! Все материалы должны быть достаточно чистыми, как и поверхность крыши. Это будет обеспечивать максимальное качество герметизационных работ.

Пластина закрепляется при помощи саморезов, с использованием резиновых или неопреновых прокладок

Пластина закрепляется при помощи саморезов, с использованием резиновых или неопреновых прокладок.

Если угол ската не позволяет применить систему обустройства дымохода стандартного типа, то это можно выполнить без привлечения специалистов. Для этого для создания герметичного фартука необходимо выполнить оклеивание периметра трубы свинцовой или алюминиевой лентой.

Также возможно использование готовой детали из свинца овальной формы, которую легко профилировать по покрытию мягкой кровли или крыши из твердого материала при помощи резинового молотка, или деревянного инструмента.

Такая свинцовая самоклейка — материал с высокими эксплуатационными свойствами. Он устойчив к температурным колебаниям, коррозии и влиянию ультрафиолета.

Один из способов самостоятельной герметизации круглой трубы на крыше из металлочерепицы показан в видео:

Квадратная труба

Для обустройства труб квадратного и прямоугольного сечения очень редко удается подобрать идеально подходящие готовые элементы, предлагаемые в продаже. В зависимости от типа кровельного материала выбираются и способы обустройства примыкания трубы к кровле.

Узел прохождения через крышу

При выполнении работ по обустройству часто требуется проведение частичного демонтажа обрешетки кровли. При этом для обеспечения жесткости конструкции вокруг трубы монтируется каркас из деревянного бруса, к которому крепятся слои гидроизоляции и пароизоляции. Гидроизоляция крепится к обрешетке и контробрешетке. Пароизоляция укладывается между каркасом кровли и внутренними отделочными материалами. Пространство между каркасом и трубой должно быть заполнено, согласно нормам СНиП, термоизоляционным негорючим материалом – каменная вата.

Важно! Особо внимательно следует отнестись к качеству герметизации стыка вертикального элемента с кровельным материалом. В местах их соединения не должно быть протеканий.

Как заделать трубу на крыше из профнастила своими руками

Если правильно уложить профнастил на крышу, то это стопроцентная гарантия избежать протечек. А это самый важный критерий надежности кровельного покрытия. Правда, необходимо отметить, что в любой крышной конструкции есть несколько элементов, которые создают примыкание к профилированным листам. Это конек, ендовы, фронтальные планки и так далее. Но, как показывает практика, самый опасный элемент, где могут произойти протечки – это труба, торчащая из крыши. Чаще всего это печные трубы.

Старые печники, зная об этой проблеме, делали специальное утолщение, когда возводилась печная труба из кирпича. В настоящее время об этом уже практически никто не вспоминает тем более современные трубы имеют круглое сечение, и часто изготавливается из металла или других материалов, но только не из кирпича. Потому что последний вариант сложен в исполнении и требует знания определенных нюансов сооружения, о которых молодые мастера и не знают.

Что нужно сделать, чтобы в местах примыкания трубы и профнастила не происходили протечки? Нужна хорошая герметизация стыков. Хотя специалисты отмечают, что и месторасположения печной трубы будет влиять на эту проблему, потому что установка ее ближе к свесу (карнизу) создает условия повышения объема воды, которая стекает по скату крыши. Чем больше воды, тем повышается вероятность протечки.

Но и это еще не все. Специалисты отмечают, что установленная выше по скату печная труба имеет наименьшую длину, которая располагается в зоне холодного воздуха. А это минимальное конденсация влажного воздуха, который является причиной нарастания сажи и пыли на внутренних поверхностях трубной конструкции. Плюс при конденсации выходящих газов образуется на стенках трубы кислота, которая разъедает материал (кирпич, металл и так далее). Кстати, в СНиПе под номером 41-01-2003 под названием «Отопление, вентиляция и кондиционирование» точно указывается высота установки печной трубы, но вот о точном месте установки ничего не говориться.

Давайте по отдельности рассмотрим несколько конструкций печных труб, проходящих через профнастильную кровлю. И определимся, как можно заделать стыки между ними.

Место примыкания трубы, проведенной через проход в скате на крыше

К сожалению, не всегда планировка дома позволяет провести вывод трубы через конек на крыше, а соответственно и сделать проход в нем. Поэтому остается другой вариант – проход через профнастил на скате кровли. И этот вариант, как показывает практика, самый сложный в плане проведения гидроизоляционных и защитных работ.

Начнем с того, что основная задача состоит в том, чтобы правильно установить верхнюю часть фартука. Поэтому основное требование – это установить данный элемент под профнастил.

Посмотрите на фото ниже, и вы сразу все поймете. Это похоже на волнорез, который отводит стекающую воду по крыше в две разные стороны от трубы.

Установить такой фартук достаточно сложно. К тому же на участках примыкания его частей и профнастила образуются две ендовы, которые герметизируются точно так же, как и ендовы на самой крыше из профнастила. То есть, установка дополнительных металлических планок и усиленная гидроизоляция.

Принципы вывода дымохода

При обустройстве дымохода важно помнить о пожарной безопасности. Для сооружения кровли частного дома используется большое количество материалов, которые могут обладать различной степенью горючести

Например, дерево, используемое для стропил и обрешетки, склонно к возгораниям. Также опасность представляют материалы, используемые для утепления и гидроизоляции. Не стоит забывать, что труба, отводящая горячий дым, довольно сильно нагревается. Именно поэтому все части кровли по возможности должны обладать определенным уровнем пожарной безопасности и располагаться на расстоянии не меньше 13 см от трубы из кирпича, бетона, керамики. Если использовать трубы, не имеющие теплоизоляции, то расстояние придется увеличить до 25 см.

Узел примыкания кровли к стене

Таким образом, в месте прокладки трубы нужно обустроить значительный проем, сквозь который волей-неволей будут происходить потери тепла. И тут будет оборудована своя система стропил, использоваться определенный вид утеплителя. Что касается материалов гидроизоляции, то, если обустройство дымохода происходит в уже готовом доме, эти материалы вырезаются конвертом, а их края затем фиксируются к стропильной системе. Если речь идет о трубах квадратного сечения, то необходимо заняться обустройством как внутренних, так и наружных фартуков, цель изготовления которых – предотвращение протечек.

Расчёт теплопотерь через кровлю

Где расположить дымоход

Форма узла прохождения дымохода будет напрямую зависеть от формы используемой трубы. Она может быть круглой, квадратной или прямоугольной в сечении.

Относительно воды можно выделить две основных проблемы, которые возникают при обустройстве дымохода. Это необходимость отведения (перенаправления) воды, стекающей по крыше, в сторону от трубы, и обеспечение необходимого уровня зашиты от жидкости, стремящейся попасть внутрь дома. То есть влага, стекающая по стенке дымохода, должна также отправляться на крышу, чтобы стечь с нее. Именно поэтому и сооружаются фартуки из металла или же используются специальные заводские разделки-проходки.

Примыкание кровли к дымовой трубе

Как произвести герметизацию трубы

Сложнее всего организовать примыкание в случае, когда кровля состоит из нескольких слоев гидро- и пароизоляторов. Надежнее всего должен быть защищен утеплитель, так как при воздействии влаги он теряет свои свойства.

Во время проведения работ необходимо учитывать строительные норма, согласно которым нужно свести к минимуму риск возгорания. Для этого кровельный пирог должен располагаться на расстоянии не менее 15 см от дымохода. Для обеспечения защиты кровли и предотвращения возгорания материалов вокруг нее создается защитный короб, который может быть сделан из стропильных ног по сторонам от трубы или путем закрепления поперечных балок на стропилах.

После проведения таких работ труба ограничивается деревянным коробом. Для того, чтобы защитить кровельный пирог, необходимо внутреннее пространство заполнить материалом, который не деформируется по действием высокой температуры. В большинстве случаев используется базальтовая вата. Этот материал не подвержен воздействию влаги и при этом позволяет укладывать гидроизоляцию вокруг трубы.

Примыкание гидроизолирующих и пароизолирующих материалов к трубе осуществляется стандартным методом:

  • сначала полотна нарезают в форме конверта
  • после этого их края доводятся к поперечным балкам
  • фиксация материала происходит при помощи скоб или гвоздей
  • пароизоляция закрепляется основанием каркаса, который необходим для закрепления отделки чердачного помещения.

В точках, где кровля примыкает к стенам короба, необходимо защитить утеплитель от действия влаги. Для этого используется специальная лента или клей. В случае, если внешние стенки дымохода не нагреваются выше 60 градусов, можно подводить кровельный пирог вплотную. Но перед началом работ необходимо убедиться, что температура не является более высокой. Если труба будет нагреваться сильнее, это может привести к деформации кровли и появлению протечек.

Вывод через металлочерепицу круглой трубы

Кровельные проходные узлы с круглым сечением обустраиваются при помощи кровельных проходок, что позволяет добиться хорошей герметизации печной трубы на крыше из металлочерепицы. Через кровельные проходки можно также выводить антенны, мачты, вентиляционные каналы и электрические коммуникации. Их применяют на различных кровельных материалах. Фундаментом кровельной проходки выступает стальной лист, герметично соединенный с колпаком. Специальное отверстие в колпаке позволяет вывести через металлочерепицу сэндвич-трубу, вам останется лишь узнать, как собрать дымоход своими руками. .

Для изготовления проходки используют силикон или EPDM резину: оба этих материала комфортно переносят температурные колебания от -74 до +260 градусов. Перед установкой трубы проходку оснащают отверстием, диаметр которого должен уступать диаметру трубы на 20%. Процесс натягивания переходника на трубу можно облегчить при помощи мыльного раствора. После стыковки уплотнителя и кровельной поверхности он полностью повторяет фактуру кровельного материала. Участок под фланцем намазывают кровельным герметиком. В качестве крепежа используются кровельные саморезы (шаг установки – 35 мм).

В большинстве случаев вместо кирпичного дымохода рекомендуется использовать сэндвич-трубу. В ее составе имеется два вкладыша с разным диаметром, разделенных слоем теплоизоляции (обычно это – базальтовая вата). Благодаря хорошим эксплуатационным характеристикам, простоте установки и длительному сроку службы дымоход из сэндвич-трубы намного превосходит кирпичные или бетонные элементы. Такой дымоотводный канал не перегревается и не накапливает конденсат.

Самостоятельно обустраивая дымоход и разделку трубы на крыше из металлочерепицы, необходимо строго соблюдать все существующие строительные нормы и правила: их можно найти в соответствующей документации. Лучше всего проводить подобную работу во время строительства дома. Однако иногда это приходится делать на уже построенном здании.

Обычно это бывает в таких случаях:

  1. Осуществляется капитальный ремонт кровли.
  2. Заменяется стропильная конструкция.
  3. Устанавливается или заменяется система отопления дома.

Если уверенности в своих силах нет, лучше пригласить для проведения работы профессиональных кровельщиков.

Место вывода

Надежность и герметичность кровельного пирога зависит от правильного выбора места вывода дымохода и вентиляционных каналов через крышу. От расположения прохода зависит отделка стыка. Если крыша изготавливается из профилированного листа, трубы выводят в следующих местах:

  • На конёк. Наиболее выигрышным местом вывода труб считается конёк конструкции. Такое расположение исключает образование снежных карманов, конденсата, снижает вероятность протечек, однако, нарушает целостность коньковой балки. Если дымоход или вентиляционный канал выводятся через конек, то стык между ними и кровельным материалом достаточно залить герметиком на силиконовой основе, а затем обшить декоративным фартуком.
  • На расстоянии 50-70 см от конька. Такое расположение считается выигрышным, так как сводит к минимуму образование снежных карманов, предотвращает протечки. При выводе дымохода на таком расстоянии от конька не нарушаются стропильные конструкции. Чтобы защитить стык между трубой и кровельным материалом применяют эластичные проходки и доборные элементы для сборки фартука.

Существует простая закономерность: чем ниже по скату крыши располагается трубы, тем больше усилий требует гидроизоляция стыка между ней и кровельным пирогом.

https://youtube.com/watch?v=sq_0rFRMc70

Герметизация трубы на крыше

Герметизация дымоотвода на крыше проводится с учетом формы трубы и рельефности кровельного покрытия:

-Для прямоугольной и квадратной конструкции подойдет металлический фартук;

-Для круглых выходов часто используются эластичные резиновые или полимерные проходки;

-Трубы типа «сэндвич» оснащают металлическим конусом, закрепленным под углом на стальном фартуке;

-Шифер или металлочерепицу оборудуют свинцовыми планками примыкания или системой Мастер Флеш.


Установка трубы на кровлю из металлочерепицы

Места прохода трубы через крышу

Существует закономерность — чем ниже по скату крыши будет размещается труба, тем больше усилий потребуется для гидроизоляция стыка между дымоходом и кровлей.

Крыши, изготовленные из профлиста, оснащают трубами в следующих участках:

–Возле конька. Согласно СНиП 41-01-2003, вывод устройства близ конька снизит вероятность образования снежных карманов и появления конденсата.

-Изоляция печной трубы на скате. Прохождение дымохода на расстоянии 500-700 мм. от конька крыши снижает риск протечки и сохраняет стропильную конструкцию. Защитить стык помогут эластичные проходки или доборные элементы фартука.

КОНСТРУКТИВНЫЕ ЭЛЕМЕНТЫ УЗЛА ПРИМЫКАНИЯ КРЫШИ К ДЫМОХОДУ

Планируя сделать проход дымохода через кровлю своими руками, начните с деревянного короба.

1.Подберите бруски, соответствующие толщине балок перекрытия (минимум 5-10 см), и отмерьте длину, увеличивающую размер трубы на 15-25 см.

2.Соедините доски для образования квадратной или прямоугольной конструкции (соответствующей форме дымохода), прикрепите к горизонтальным и вертикальным балкам перекрытия.

3.Приготовьте дополнительные материалы: верхний и нижний фартук, галстук (длинный гладкий лист с отбортовкой для отвода дождевой воды), герметик.

4.Планки примыкания, образующие фартук, устанавливаются по бокам, сверху и снизу. Внутренний фартук размещают под кровельным материалом для отведения воды. Под него укладывают галстук длиной, равной расстоянию нижнего фартука до карниза. Внешние планки примыкания выполняют декоративные функции, и предупреждают попадание влаги в зону прохождения дымохода через крышу.

5.Закрыть отверстие вокруг трубы и балок перекрытия поможет базальтовая вата. Расстояние между бетонным и кирпичным дымоотводом, относительно элементов стропильной системы — 13 см., от керамической не изолированной трубы оставляют просвет 25 см., при наличии теплоизолирующего слоя — 13 см.

6.Промежуток между трубой и горючим материалом закрывают листовым металлом. Герметичность кровли обеспечивает специальная пленка, которую прорезают конвертом, и фиксируют края на внешней части трубы, деревянного короба.

Организовывая вывод круглой трубы, достаточно подобрать эластичный уплотнитель, исключающей необходимость дополнительной гидроизоляционной защиты вокруг проходки.

РАЗДЕЛКА НА КОНЬКЕ

Отвести воду от дымовой системы, проходящей через конёк, позволит гладкий металлический фартук и декоративная заделка из шифера или профнастила.

1.Проложите возле трубы жестяной лист (галстук), подведенный под кровельный настил.

2.Зафиксируйте нижнюю, затем боковые и верхнюю планку примыкания.

3.Заполните стыки возле трубы герметиком на силиконовой основе.

4.Прижмите верхними планками фартука.


Отвод дождевой воды от дымохода

ПРОХОДКА НА СКАТЕ

Проводя обустройство небольшой проходки, зафиксируйте на скате крыши водоотводный желоб.

Разделка для труб шириной более 80 см потребует создания разуклонки на скате крыши для отвода воды, поступающей сверху к центру дымохода.

Сверху образуются две короткие ендовы (разжелобки). Планка нижней ендовы устанавливается в местах стыков отрицательных углов, защищая от попадания воды в подкровельное пространство. Размещается она, до укладки листов профнастила. Верхняя планка выполняет чисто декоративные функции.


Установка дымохода круглого сечения потребует дополнительных затрат, так как его правильная организация нуждается в дополнительных комплектующих

ОБХОД СТРОПИЛЬНОЙ СИСТЕМЫ

Качественное примыкание кровли к трубе дымохода возможно при наличии жесткой обрешётки, позволяющей равномерно распределить нагрузку. Дымоход обычно устанавливают до укрепления стропильной системы.

Если вывод осуществляется позднее, важно предусмотреть расстояние от стропил более 20 см, в противном случае потребуется демонтировать обрешетку, ослабив общую систему.


Обрешетка под дымоход

1.Установите под элементы стропильного каркаса опорные стойки, срежьте перекрытия и соедините с целыми стропилами, воспользовавшись горизонтальными перемычками.

2.Вокруг дымового отвода обустройте надежный каркас, прочно соединенный со стропильной системой и кровельной обрешеткой.

Способы герметизации трубы на крыше

При всех стараниях кровельщиков уложить кровельный материал поближе к трубе, он все равно примыкает к ней неплотно, с зазорами. Если их не заделать, то вода через подобные стыки будет просачиваться под крышу. Поэтому все зазоры между кровлей и периметром дымовой трубы необходимо заделать.

 

Кирпичная труба на крыше с жесткой металлической кровлей

Чем заделать крышу вокруг трубы на кровле из металлочерепицы, фальцевой кровли или профнастила?

Рассмотрим способ заделки для кирпичной трубы прямоугольного сечения.

  • Традиционный способ заделки предполагает устройство вокруг трубы фартука из четырех специальных Г-образных элементов из оцинкованной стали. Готовые примыкания прикладывают к трубе и строймаркером прямо на ее стенках размечают, где будут проходить штробы под верхние отгибы примыканий.
  • Чтобы образовать штробы, по отмеченным линиям проходят отрезной машиной с диском по камню. Монтаж фартука начинают с установки нижнего примыкания, заводя при этом его верхний отгиб прямо в штробу.
  • Аналогично и с нахлестом: устанавливаются боковые и верхнее примыкания. При этом нижние горизонтальные части примыканий крепятся к обрешетке саморезами.
  • Штробы на трубе герметизируются силиконовым герметиком.
  • Затем устраивают т. н. «галстук» из гидроизоляционного материала, устанавливаемого прямо на нижнее примыкание и так, чтобы влага стекала в водоотводящие элементы кровли.
  • Поверх примыканий и «галстука» монтируется кровельный материал.

Круглая труба на крыше с жесткой металлической кровлей

  1. Многими изготовителями печей выпускаются круглые многослойные дымоходы. Для заделки такого дымохода на крыше имеются готовые фартуки-колпаки, которые представляют собой металлический лист с отверстием, закрытым колпаком в виде наклонного (по отношению к плоскости листа) усеченного конуса. Лист крепится к обрешетке, труба пропускается через колпак. Верх колпака прижимается к трубе стальным хомутом с термостойкой прокладкой.
  2. Кроме жестких металлических фартуков-колпаков на рынке имеется и специальная гибкая трубная заделка, называемая Мастер Флеш. Это эластичное приспособление, позволяющее заделывать трубы на крыше быстро и с хорошим качеством. Областью ее применения является герметизация не только дымовых труб, но и различных других дополнительных элементов крыш, как-то: антенн, вентиляционных труб, светильников.

Внешне Мастер Флеш выглядит как ступенчатая пирамидка. Материалами для его производства являются силикон или резина, основание делается из алюминия. Следует помнить, что диапазон рабочих температур резинового Мастер Флеш равен – 50°С−(+ 130°С). Более подробно о печной трубе, расскажет эта статья.

Силиконовая модель работает в диапазоне температур – 70°С−(+ 250°С) и может эксплуатироваться на любой кровле и в любом климате.

Описываемый материал легок в монтаже и имеет долгий срок службы.

  • В основание его следует прорезать отверстие с диаметром чуть меньшим диаметра трубы.
  • Натянуть Мастер Флеш на трубу, придать ему правильную форму, под основание уложить прокладку.
  • Под основание нанести слой спецгерметика вдоль его края, и прикрепить к кровле из профнастила спецшурупами.
  • Если швы между кровлей и трубой все же протекают, то их хорошо заделывать алюминиевой или медной самоклеющейся лентой с клеящим слоем на основе битума, модифицированного полимерами и закрытого защитной пленкой. Такой слой не нуждается в предварительном разогревании, он хорошо скрепляется с деревом, металлом, пластиком, цементной стяжкой и другими материалами. Предварительно место, где будет крепиться лента, очищается, а сама она после снятия защитной пленки сильно прижимается к поверхности. Ею можно проклеить места крепления фартука-колпака к обрешетке крыши.

Круглая труба на крыше с кровлей из натуральной черепицы

На такой кровле вокруг трубы обустраивается т. н. «выдра» из цементно-песчаного раствора в следующей последовательности:

  • В зазор между трубой и черепицей закладывают «подворотнички» из оцинковки.
  • В подготовленный зазор закладывают цементно-песчаный раствор, образующий вокруг трубы выступающий над кровлей воротник. Нижней расширенной частью воротник должен плотно сопрягаться с черепицей, а верхней – с трубой.
  • Для водоотвода на воротнике со стороны конька формируют выступ, имеющий две наклонные плоскости.

Эта работа должна выполняться со всей возможной тщательностью для предотвращения растрескивания.

Круглая труба на шифере

При расположении трубы близко от конька, она заделывается в следующей последовательности:

  • Один из стальных листов, которым оформляется конек, опускается вплоть до перекрытия сечения трубы.
  • В листе делается круглая прорезь под трубу с отбортовкой ее края на два сантиметра вверх.
  • На трубу надевается асбоцементное кольцо.
  • Чтобы зафиксировать кольцо по высоте трубы, вставляют штырек в ее боковое отверстие.
  • Кольцо при помощи клина устанавливают параллельно скату.
  • Края прорези в стальном листе заводят внутрь кольца.
  • Замазывают стык смесью цемента с асбестом распушенным (1:2).

Этот способ является отличной защитой крыши от дождя, но в зазоре между шифером и трубой скапливается снег. Можно узнать о герметичности крыши с печной трубой.

Чтобы труба и шифер стыковались герметично, выполняют следующее:

  1. В зазор между шифером и трубой вставляют картонный цилиндр, обернутый в полиэтиленовую пленку.
  2. На стальном листе формуют глиняный или пластилиновый бортик ограничительный. Расстояние между бортиком и картонным цилиндром не должно быть более 10 мм.
  3. Полученный промежуток заполняют асбоцементной смесью.
  4. После затвердевания смеси цилиндр с ограничительным бортиком убирается;
  5. На трубу надевается асбестовое кольцо (см. выше).

Гидроизоляция места выхода трубы (видео)

Заделка трубы на мягкой кровле

Вокруг кирпичных труб на мягкой кровле выполняется разделка в виде фартука из готовых примыканий, выполненных из мягкого кровельного материала (например, ондулина). Примыкания крепятся к обрешетке гвоздями, а к стенам трубы кровельной лентой Вакафлекс или Ондуфлеш-супер. Такой же лентой проклеиваются и места соединений примыканий с обрешеткой.

Круглые трубы на мягкой кроле заделывают при помощи готовых фартуков-колпаков. Места соединения листов-оснований фартуков с кровлей также проклеивают кровельными лентами.

Как видите, способов как заделать трубу на крыше довольно много. Общим в них является одно: все эти работы должны делаться качественно. Только таким образом вы получите надежную защиту крыши от протекания.

Герметизация печной трубы на крыше.

Заделка квадратных и круглых дымоходов

Герметизация трубы на крыше – проблема, с которой приходится сталкиваться, обеспечивая нормальные условия для любого сооружения, оборудованного печью. Это может быть дом, баня, производственное или подсобное помещение. Ненадлежащим образом проведенная герметизация обернется образованием на стенках трубы конденсата. Испаряющийся при обогреве конденсат ухудшит тягу, увеличит давление, что может привести к образованию трещин и даже разрушению трубы.

Герметизация печной трубы производится разными материалами и способами, в зависимости от типа кровли и вида дымохода

Зачем проводить гидроизоляцию дымохода

Установка дымохода на крыше нарушает ее герметичность, создает проблемы с гидроизоляцией кровли.

Через дымовую трубу удаляются отработанные продукты горения, сохраняющие достаточно высокую температуру. Стенки дымохода разогреваются и практически мгновенно испаряют попадающую на них холодную атмосферную влагу. Испарением создается дополнительное давление. Оно нежелательно, так как препятствует нормальной тяге. Влияние дополнительного давления способно привести даже к разрушению печной трубы.

Важно знать! Возникновение резкого температурного перепада также приводит к образованию конденсата на внутренних стенках трубы. Накапливающийся конденсат стекает вниз, создается паровое давление.

Проведение гидроизоляции надлежащим образом позволяет избежать описанных нежелательных явлений. Эксплуатация отопительных приборов будет протекать в соответствии с заявленными параметрами, без ухудшений. Не будет происходить падения уровня теплоотдачи. Равномерность процесса разогрева позволит легко испарить конденсат и вывести в атмосферу вместе с дымом.

Обустройство дымохода согласно правилам пожарной безопасности

Отвод отработанных продуктов горения через трубу дымохода следует осуществлять, соблюдая правила пожарной безопасности. Печные газы вполне могут привести к возгоранию кровли, особенно ее деревянных несущих конструкций.

Проводить работы по герметизации дымохода требуют правила пожарной безопасности

Во избежание воспламенения:

  • строительными нормативами регламентированы размеры зазора, который в обязательном порядке оставляют между трубой и элементами кровли, подверженными воспламенению;
  • этот участок обрабатывается материалами, которые поспособствуют снижению опасности, к примеру, асбестом;
  • проходящая через кровельный пирог часть дымохода изготавливается, по обыкновению, в виде короба с применением оцинкованного металла. Пространство между внутренней стенкой короба и трубой заполняется негорючими материалами.

Современные кровельные технологии позволяют устанавливать проход дымохода на коньке или скате крыши. Ранее подобная установка на коньке крыши требовала соответствующих изменений в системе стропил, а установка на скате кровли – могла обернуться зимой образованием кармана, накапливающего снег. Современные изолирующие материалы легко завести под коньковую планку, исключив возможность протечки.

С чего начинать гидроизоляцию

Безопасность работы отопительных приборов во многом определяется правильно проведенной гидроизоляцией при разделке трубы на крыше. Проводя эту операцию учитывают, что:

  • каким бы ни было кровельное покрытие, следует добиться сохранения определенного расстояния между стропильной системой и крышей. Если кровля уложена из негорючих материалов – 10-25 см, если из горючих – 15-30 см;
  • конструкция сложного кровельного пирога, включающая слои гидроизолята, утеплителя и пароизоляции, не должна нарушаться. Попадание влаги внутрь кровельного пирога приведет к его разрушению. Изолирующие слои, составляющие кровельный пирог, ввиду их горючести, требуется отделить от печной трубы зазором;

Устанавливая дымоход, следует позаботиться о том, чтобы между трубой и крышей оставался зазор, который заполняется изолирующими материалами

  • зазор обустраивается посредством монтажа короба, который отделит трубу от крыши. Расстояние между внутренней стенкой короба и трубой – примерно 15 см. Внутреннее пространство короба заполняется негорючими теплоизоляционными материалами.

Изоляционные пленки в кровельном пироге разрезаются «конвертом», подтягиваются к поперечной балке и стропилам и прикрепляются гвоздями. Гидроизоляция прижимается обрешеткой, пароизоляция фиксируется с помощью специальной рамки. Специальными лентами окантовываются стыки короба и изоляционных слоев кровельного пирога.

Как провести гидроизоляцию

Протечка на крыше, появившаяся около трубы, обычно связана с некачественным проведением герметизации разделки крыши. Во избежание протечки устанавливаются изоляционные фартуки. Их монтаж проводится в следующем порядке:

  1. Чтобы отвести от дымовой трубы влагу, в гидроизоляционный слой над печной трубой укладывают дренажный желоб;
  2. Полная герметичность стыка между кровельным покрытием и дымоходом обеспечивается монтажом внутреннего фартука.
  3. Из гидроизоляционного материала вырезается подложка, размещаемая под нижней кромкой внутреннего фартука. Край такого «галстука», если кровля выполнена из металлочерепицы или шифера, выводится на ее поверхность между нижними листами. С помощью плоскогубцев по краям конструкции создается бортик, призванный направлять воду вниз по скату.
  4. Укладывается кровельное покрытие вокруг трубы.
  5. Проводится установка наружного декоративного фартука поверх кровли. Единственное отличие от установки внутреннего фартука состоит в закреплении верхней кромки непосредственно к стенке трубы.
  6. Изоляционный фартук изготавливают либо самостоятельно, либо приобретается изготовленный промышленным способом кровельный проход. Его основание – стальной лист, на который крепится фартук в виде колпачка. Дымовую трубу пропускают внутри фартука.

Вокруг трубы обязательно должен быть фартук из негорючего материала, лучше всего из металла

Материалы для герметизации

Материалы, позволяющие успешно герметизировать трубу на крыше делятся на три вида:

1. Вата. Ее выпускают в виде рулонов или измельченной, с укороченными муллитокремнезистыми волокнами. Она отличается:

  • высокой термостойкостью;
  • низкой теплопроводностью и небольшой теплоемкостью;
  • химической стойкостью;
  • стойкостью к вибрациям, деформациям, термоударам;
  • незначительной плотностью и эластичностью;
  • плотным прилеганием к конструкциям;
  • огнестойкостью;
  • хорошей электро- и звукоизоляцией.

2. Рулонные фильтры. Выполняются из волокон, включающих муллитокремнезистый состав. Отличаются гибкостью, легко режутся ножом. Их легко зафиксировать механическим креплением или использовав неорганический клей.

3. Асбестовые или каолиновые плиты. Также выполняются из муллитокремнезистого волокна. Проявляют устойчивость при воздействии щелочей и кислот, но при высокой температуре требуется дополнительная изоляция материала от воздействия высококонцентрированной кислоты или щелочи. Каолиновые и асбестовые плиты отличаются:

  • устойчивостью к воздействию воды, пара, минеральных масел;
  • устойчивостью к воздействию расплавов цветных металлов;
  • низкой теплопроводностью;
  • эластичностью и небольшой плотностью;
  • низкой теплопроводностью;
  • хорошей звукоизоляцией;
  • сохранением электроизоляционных свойств при температуре 700-800º С;
  • устойчивостью к вибрациям и деформациям.

Для герметизации дымовых труб подходят материалы на основе асбеста, поскольку он не горюч

Заделка квадратной трубы на шиферной крыше

Традиционно кирпичному дымоотводу на шиферной крыше герметичность придавалась созданием утолщения на уровне кровли. Шифер не позволяет применять специальные детали для изоляции, поэтому ее добиваются, устраивая цементно-песчаный фартук:

  1. Щели между трубой и кровлей перекрываются подворотничками. Их изготавливают из полосок оцинкованной стали, примыкающих частью к кирпичной трубе, а другой частью – к шиферу..
  2. Производится заливка стального оклада цементно-песчаным раствором, поднимающимся над уровнем крыши. При использовании картонного цилиндра заливку выполнить легко.
  3. Чтобы отвести воду, со стороны конька сооружается наклонный выступ.

Иногда щель между трубой и кровлей перекрывается картонным цилиндром, обернутым в полиэтиленовую пленку, а бортик водоотвода вылепливается из пластилина. В таком случае после затвердевания залитого асбестоцементного раствора производится удаление цилиндра и бортиков.

Обратите внимание! Такая конструкция вряд ли произведет эстетическое впечатление, но герметичность обеспечит.

Заделка круглых многослойных дымоходов

Герметизация современного круглого дымоотвода облегчается тем, что труба укомплектована необходимыми приспособлениями. Готовый фартук-колпак состоит из металлического листа с отверстием, которое закрывается наклоненным к листу усеченным конусом колпака. Установка проходит следующим образом:

  1. Проделав в гидроизоляции отверстие, мастикой приклеивают к предварительно прогрунтованной для повышения адгезивных свойств трубе края материала.
  2. Лист прикрепляется к обрешетке, трубу пропускают через колпак. Стык колпака и стенок перекрывается стальным хомутом, снабженным термостойкой прокладкой.

Для круглого металлического дымохода можно использовать специальный герметик

Помимо металлических фартуков-колпаков возможно использование специальной эластичной гибкой трубной заделки. Герметик гибкий для печных труб может использоваться, чтобы заизолировать любые дополнительные элементы на крышах.

Заделка квадратной трубы на кровле из металлочерепицы, ондулина, профнастила

На крышах из металлочерепицы или профнастила для герметизации используются планки примыкания.

Гидроизоляционную мембрану на участке, где проводится монтаж дымоотвода, разрезают и частично удаляют. Остальная часть гидроизоляции крепится к стенкам трубы, перекрывая их на 5-10 см. К стенкам мембрана приклеивается битумной мастикой.

Металлический фартук вокруг дымоотвода собирается из внешних и нижних планок примыкания. Внешняя планка примыкания заливается герметиком для трубы дымохода.

Важно! Укладывая фартук под металлочерепицу, нижний и боковые элементы, выполненные их гладкого металла, заводят под кровельный материал, верхний элемент – под конек, применяя уплотнители и герметик.

Сверху вручную укладывается кровельный материал, места стыков обрабатываются герметиком.

При работе на ондулиновой кровле после закрепления пленки гидроизоляции из металлических уголков формируются нижний и верхний галстуки. Конструкция накрывается листами ондулина, сверху устанавливается фартук. Для обработки швов применяется битумная мастика.

Как заделать кирпичную трубу в металлическую крышу

 

Немой фильм о вшивании металлической крыши в кирпичный дымоход от UnionCorrugating.

 

Шаг за шагом:
  1. Обшивка вокруг дымохода.
  2. Панели над дымоходом должны быть удалены.
  3. Согните ножки вверх по сторонам дымохода примерно на 1 дюйм.
  4. Вырежьте две противоположные прорези под углом 45 градусов в Z-образной застежке (чтобы обеспечить изгиб под углом 90 градусов).
  5. Нанесите бутиловую ленту на нижнюю сторону крышки.
  6. Согните крышку на 90 градусов и приложите к кровле вдоль одной стороны и половины секции под дымоходом.
  7. Завинтите крышку с помощью шурупов с плоской головкой, установленных на расстоянии четырех дюймов друг от друга.
  8. Повторите установку z-затвора на противоположной стороне дымохода.
  9. Отрежьте фартук для нижней части дымохода. Подшейте нижнюю часть фартука, чтобы зацепить Z-образную застежку.
  10. Закрепите фартук в дымоходе с помощью каменных анкеров.
  11. Нанесите герметик на фартук в местах нахлеста боковых накладок.
  12. Обрежьте нижнюю часть боковины накладок под углом 45 градусов, а верхнюю часть так, чтобы она огибала верхнюю сторону дымохода.
  13. Установите боковую планку на место и закрепите ее в дымоходе с помощью каменных анкеров.
  14. Повторите обшивку боковой стенки на противоположной стороне дымохода.
  15. Установите два слоя бутилового герметика по периметру гидроизоляции поддона
  16. Нанесите герметик на отлив боковины в месте, где выступы отливки перекрываются.
  17. Отрежьте и сложите отлив поддона, чтобы сложить заднюю часть дымохода и отделку боковой стенки.Отлив поддона должен выступать не менее чем на 12 дюймов вверх по плоскости крыши.
  18. Приклепать отлив поддона к отливу боковой стенки.
  19. Прикрутите отлив поддона к крыше с помощью прокладочных винтов.
  20. Нанесите бутиловый герметик на нижнюю часть смещенной планки и установите планку на шесть дюймов выше основания дымохода.
  21. Закрепите планку винтами с цилиндрической головкой.
  22. Закрепите перевернутую ножку поддона к дымоходу с помощью каменных анкеров.
  23. Установите контрфартук с анкерами для каменной кладки по периметру дымохода, закрывающий все перевернутые опоры.
  24. Обильно нанесите герметик на верхнюю часть ответной планки по периметру дымохода.
  25. Снимите верхнюю часть нижнего крюка с внутренней стороны кровельной панели, которая проходит вдоль дымохода. Это позволит перекрывающейся панели защелкнуться в этом разделе.
  26. Установите панели с полевой окантовкой над отливом поддона, зацепив за смещенную планку.
  27. Обрезка охватываемой ножки в полевых условиях для прилегания заподлицо к соседней непрерывной панели.
  28. Установите полноразмерную панель поверх только что отрезанной охватываемой ноги.

Просто как 1, 2 … 28

 

— Union Corrugating не рекламирует ProTradeCraft. Мы просто считаем, что их видео полезно.

 

Облицовка дымохода | Carson Dunlop Home Inspection Training

Как правило, обшивка дымохода более сложна, чем другие типы обшивки крыши, и является частым источником протечек крыши. Как правило, дымоходы либо каменные, либо металлические. Некоторые дымоходы облицованы деревом, лепниной или алюминиевым сайдингом.Круглые металлические дымоходы будут прошиты так же, как и трубы. Давайте сосредоточимся на кирпичных дымоходах, поскольку они являются наиболее сложными и одними из самых распространенных.

С возможностью перемещения

Дымоходы имеют фундамент, который может быть независимым от дома. В любом случае настил крыши может сместиться относительно дымохода из кирпичной кладки, и хорошие детали гидроизоляции предвидят это. Хорошие облицовки дымохода состоят из двух частей. Нижняя планка крепится к палубе, а верхняя — к кирпичной кладке.Перекрытие между этими двумя планками позволяет двигаться, не нарушая водонепроницаемости.

Типичные материалы Типичные материалы

дымоходы не совместим с кладочным раствором.

На дымоходе требуется обшивка снизу, по бокам и сверху.

Каждая из них в идеале должна иметь основание (ступеньку, если она находится по бокам) и колпачок (встречную) планку; однако нижние и верхние планки (где нет седла) часто представляют собой одно целое.

Давайте посмотрим, как устанавливаются откосы дымохода.

Накладка на основание

Нижняя часть:  Перед установкой накладки на цоколь кровля покрывается черепицей до нижней части дымохода. Нижняя обшивка основания сделана из цельного куска металла, выступающего на 3-6 дюймов вниз над уже установленной черепицей, и на 12 дюймов (некоторые говорят меньше) вверх по нижней поверхности дымохода.Этот оклад на несколько дюймов огибает боковые стороны дымохода.

Стороны: Базовая планка для сторон дымохода называется ступенчатой ​​планкой. Другие называют эти емкости для замачивания или детские банки. Ступенчатые планки обычно имеют ширину 3 дюйма, высоту 3 дюйма (некоторые рекомендуют шире и выше, до 6 дюймов в каждом измерении) и длину около 9 дюймов. Обычно они равны длине обнажения черепицы плюс 3 дюйма (некоторые говорят, что 2 дюйма!). Эти базовые планки прибиваются к палубе.

Сверчок или седло

Сверчок или седло типичны для дымохода и требуются многими властями, когда ширина дымохода превышает 30 дюймов. Сверчок или седло представляет собой пику, которая отводит воду и снег вокруг дымохода, предотвращая их скопление на верхней стороне дымохода. Сверчок обычно делается из того же материала, что и обшивка крыши (фанера или вафельный лист в современном строительстве). Там, где не используется сверчок, верхняя обшивка должна проходить по крайней мере на одну шестую ширины дымохода вверх по дымоходу (минимум 6 дюймов) и должна подниматься вверх по крыше под черепицей на высоту, равную расстоянию до другого конца трубы. мигание простирается вверх по дымоходу (некоторые говорят, что 18 дюймов).

Все цокольные планки прилегают к кирпичной кладке, но не крепятся к ней.

Ответные планки (накладки)

Нижняя часть:  Нижняя планка (или ответная планка) представляет собой единый кусок металла, закрывающий вертикальную часть базовой планки. Накладки на заглушки должны крепиться только к дымоходу. При работе хорошего качества верхнюю часть сгибают и устанавливают на 1–1 1/2 дюйма в растворный шов (реглет). Этот растворный шов герметизируется раствором (а иногда и гибким герметиком).Нижняя часть обшивки открыта и не доходит до поверхности крыши. В работе более высокого качества нижние 1⁄2 или 3⁄4 дюйма поворачиваются на 180°, чтобы обеспечить более прочный и гладкий край (иногда называемый кромкой). Как и в случае с нижним цоколем, нижняя заглушка оборачивается по бокам дымохода.

Стороны:  Боковые планки (или встречные планки) обычно представляют собой несколько кусков металла, которые перекрывают ступенчатые (базовые) планки. Опять же, отливы крышек не доходят до поверхности крыши.Верхний край накладок загибается и вставляется в растворные швы. Соседние заглушки перекрывают нижние заглушки не менее чем на 3 дюйма по горизонтали, когда вы двигаетесь вверх по стороне дымохода. Часто вертикальная открытая поверхность фартука срезается под углом, чтобы создать Z-образный вид фартука.

Верх:  Верхние заглушки устанавливаются практически так же, как и боковые заглушки. Как видите, правильная обшивка дымоходов – сложная работа. Люди когда-нибудь срезают углы? Конечно, они делают.Мы говорили о том, как это должно быть сделано правильно. Качественный монтаж встречается редко. Давайте посмотрим, что мы обычно находим.

     

Условия

При осмотре каменной дымовой трубы мы будем обращать внимание на следующие условия:

  1. Ржавчина
  2. Повреждения (включая незакрепленные планки или планки, открытые сверху) Установка
  3. -9 сопутствующие проблемы

Ржавчина возникает из-за возраста, несоблюдения ухода за краской, несовместимых материалов, таких как алюминиевые накладки на каменных дымоходах или стальные гвозди, используемые на медных накладках, смоляные накладки на металлических накладках.

Поврежденные откосы являются результатом повреждения животными, неравномерного движения крыши и дымохода, износа раствора или крепежа и небрежного выполнения кровельных или кладочных работ поблизости.

Проблемы с установкой, конечно же, связаны с качеством изготовления. Здесь подразумевается утечка. Могут иметь место не только внутренние и структурные повреждения, но и каменная кладка со временем может быть повреждена.

Первое, что нужно проверить на обшивке дымохода, это убедиться в наличии всех необходимых деталей.Второе — проверить верхнюю часть шапки прошивкой. Во многих случаях верхние части не укладываются должным образом в растворные швы. Вы должны рассматривать любой зачеканенный шов в верхней части заглушки или шов, в котором используется битумный цемент, как временную ситуацию. Сообщите вашему клиенту, что это будет постоянная проблема обслуживания.

Осторожно поднимите черепицу, чтобы проверить горизонтальную проекцию боковых отливов основания. Убедитесь, что нижняя заглушка доходит до черепицы не менее чем на 4 дюйма.

Убедитесь, что есть сверчок, если дымоход имеет ширину 30 дюймов и более. Если дымоход узкий (менее 30 дюймов в ширину) и в нем нет сверчка, убедитесь, что заглушка на верхней стороне дымохода достаточно высоко поднимается вверх по дымоходу и по крыше.

Как и со всеми проверками, связанными с кровлей, вы не закончите, пока не проверите область под обшивкой дымохода на наличие признаков утечки внутри здания или на чердаке.

О программе обучения Carson Dunlop по инспекции домов

Учебная программа Carson Dunlop по инспекции домов — это единственный зарегистрированный колледж, посвященный обучению инспекции домов и созданный для вашего успеха.Узнайте больше о программе обучения Carson Dunlop по проверке домов


Обшивка дымохода — Deer Park Roofing, Inc.

Кровля Deer Park — облицовка дымохода

Обшивка дымохода – одна из самых важных деталей успешной системы крыши жилого дома. Протечки крыши обычно обнаруживаются у основания дымохода и обычно могут быть связаны с неправильным обшивкой. Кирпичная облицовка дымохода состоит из нескольких компонентов, включая подкладку, ступенчатую облицовку, металлическую опору, раствор, встречную облицовку и припой.Квалифицированный мастер должен выполнить следующие действия при установке новой обшивки на дымоход:

  • Перед установкой нового обшивки дымохода необходимо удалить старый обшивочный и кровельный материал. Деревянный настил крыши следует осмотреть и заменить любую поврежденную древесину перед установкой подстилающего слоя. Вокруг дымохода должна быть установлена ​​защита от льда и воды. В отличие от кровельного картона, защита от льда и воды прилегает непосредственно к настилу крыши и является дополнительным слоем защиты от проникновения воды в дом.
  • Ступенчатая планка обычно состоит из алюминия, меди или стали размером 5″ x 7 5/8″, изготовленного по индивидуальному заказу с одним изгибом 90 градусов. По сторонам дымохода на каждом соответствующем ряду гонтов (или других кровельных материалов) устанавливается по одной ступенчатой ​​накладке. Ступенчатые оклады обычно называют вспомогательными окладами, потому что они устанавливаются под ответными окладами.
  • Седла для дымохода представляют собой еще один тип переходника и устанавливаются как в верхней, так и в нижней части дымохода.Металлическая опора состоит из изготовленной на заказ стали или меди, которая припаяна к углам дымохода.
  • Для удаления существующего раствора из дымохода следует использовать шлифовальную машину. Это позволит установить ответную планку на ½ дюйма в раствор. Этот шаг очень важен, и его не следует заменять менее длительным процессом.

  • Ответные планки изготавливаются по индивидуальному заказу и устанавливаются поверх ступенчатых/нижних планок и в швы дымохода с раствором.Встречные планки удерживаются на месте свинцовыми дюбелями между кирпичами. Ни в коем случае нельзя забивать гвозди в отливы дымохода.
  • Прокладки очищаются жидким флюсом перед пайкой. Это исключает окисление на поверхности металла и улучшает процесс пайки.
  • Отливы дымохода припаяны для предотвращения проникновения воды в швы. Припой состоит из комбинации свинца и олова. Паяльник используется для нагрева припоя примерно до 370 градусов (F), что позволяет сплавить все швы металлических накладок.Припой переходит в жидкую форму при более низкой температуре, чем стальные или медные отливы.
  • Черепица или другие кровельные материалы укладываются поверх подстилающего слоя и вокруг обшивки дымохода.
  • Дымоход необходимо заправить растворной смесью во всех местах, где раствор был удален. Никогда не используйте герметик в швах из раствора при установке гидроизоляции на дымоходе

  • Оцинкованная сталь 26 калибра — отличный выбор металла для облицовки дымохода, поскольку он выдерживает большие нагрузки, устойчив к коррозии, соответствует строительным нормам и легко паяется.Вскоре после установки стальные откосы дымоходов необходимо очистить обезжиривающим средством, чтобы на них можно было нанести 2 слоя краски для прямого нанесения на металл. Краску на обшивке дымохода следует проверять каждые пять лет.
  • Медные отливы дымохода не должны быть окрашены и не требуют обслуживания. Медь будет реагировать с разнородными металлами в кровельной системе, такими как алюминий и сталь. При установке медных накладок дымохода желоба, желоба и другие накладки также должны быть изготовлены из меди.
  • Сверчок необходим на дымоходах шириной более 30 дюймов для отвода воды от центра дымохода.

Этот процесс облицовки дымохода включает в себя проверенные временем отраслевые методы, позволяющие гарантировать, что крыша и дымоход останутся водонепроницаемыми в будущем. Предметы, которые никогда не должны использоваться в процессе обшивки дымохода, — это кровельный цемент, герметик и лицевые гвозди, чтобы удерживать обшивку на месте. Важно уточнить детали процесса установки у вашего подрядчика, прежде чем принять его предложение.

Чтобы получить смету на новую крышу или смету на ремонт дымохода, нажмите здесь.

Важность правильной облицовки дымохода

Почему я должен беспокоиться о облицовке дымохода?

Вы, наверное, уже слышали термин «обшивка» в отношении крыш и дымоходов. Но что это такое и что это значит?

Утечки дымоходов на крыше

Утечки вокруг дымоходов на крыше вашего дома в Цинциннати могут вызвать серьезные проблемы в доме.Вода может стекать вниз по опорам крыши и в области за стенами. Ущерб часто не распознается, пока не становится слишком поздно. Токсичная плесень может расти на чердаке и в стенах, если вода со временем продолжает просачиваться. Это может превратиться в серьезную проблему.

Износ фартука дымохода

Утечки, как правило, являются результатом износа фартука. Металлическая обшивка может ржаветь или иным образом ослабевать под воздействием погодных условий. Заделка вокруг стыка становится проблемой, потому что со временем он может ослабнуть.Скорее всего, домовладелец не увидит эти проблемы с земли (а, как вы знаете, подниматься на крышу может быть опасно). Течь с крыши можно обнаружить, зайдя на чердак и поискав признаки протечек. Или наши специалисты по кровле могут осмотреть обшивку дымохода и определить, требует ли ее состояние ремонта.

Конструкция гидроизоляции

Когда мы говорим о гидроизоляции, мы имеем в виду листовой металл, предотвращающий протечки воды в месте пересечения крыши и дымохода.Правильная перепрошивка включает в себя два этапа. Сначала под черепицу вставляются секции Г-образного металла и нахлестываются на дымоход. Второй слой металла вставляется в растворные швы дымохода, а затем загибается поверх первого слоя металла. Углы защищены сгибанием металлической детали вокруг углов. После этого проверяется установка гидроизоляции на наличие участков, которые необходимо загерметизировать высококачественным уретановым герметиком.

Накладка очень тонкая, и в качестве металла для нее обычно используется оцинкованная сталь.Поскольку оклад предназначен для отвода дождевой воды от критических частей вашей крыши, мы устанавливаем его вокруг таких элементов, как вентиляционные отверстия, световые люки и дымоходы.

В идеальном случае, если оклад установлен правильно, сточные воды стекают вниз по краю оклада и к черепице, а не к настилу крыши. Без этой мигалки вода просто медленно капала бы в эту маленькую щель между крышей и стеной. Он может даже просто капать в вашем доме.

Накладка, которая выглядит в хорошем состоянии, может нуждаться в новой герметизации.Как упоминалось выше, герметик со временем может испортиться, и это обязательно произойдет, если это не высококачественный герметизирующий материал. Замена герметика требует, чтобы сначала был удален весь старый герметик (не рекомендуется пропускать этот шаг).

Замена гидроизоляции крыши

Если необходимо заменить гидроизоляцию, важно использовать подходящий металл. Оцинкованная сталь 26 калибра является хорошим металлом для гидроизоляции. Это сверхпрочный металл, и он устойчив к коррозии. Он соответствует строительным нормам и легко паяется.Оцинкованный металлический отлив следует красить после того, как он будет очищен обезжиривающим средством. Окраску дымохода следует проверять каждые пять лет или около того.

Алюминий — еще один вариант гидроизоляции, и он также должен быть окрашен. В отличие от оцинкованной стали, алюминий плохо поддается пайке. Поэтому важно установить алюминий с плотной посадкой везде, где есть риск протечки воды. Его также следует проверять каждые пять лет.

Хотя медь привлекательна и с ней легко работать, она не рекомендуется для домов, в которых нет медных водосточных желобов и ендов, поскольку она неблагоприятно взаимодействует с другими металлами.Медь тоже дорогая!

Бесплатные оценки гидроизоляции крыши

Самый надежный способ убедиться в том, что гидроизоляция выдержит испытание временем, — это записаться на бесплатную инспекцию крыши. Наличие экспертов по кровле, оценивающих ваш оклад, может решить любые вопросы или проблемы, которые могут у вас возникнуть. Вместо того, чтобы рисковать повреждением стен водой, убегайте от любых потенциальных проблем.

Проверка обшивки и кровли

Наши эксперты по кровле из Цинциннати могут осмотреть обшивку дымохода в вашем доме и при необходимости порекомендовать ремонт.Если вам нужна бесплатная оценка кровли, чтобы убедиться, что ваш дымоход все еще в хорошем состоянии, свяжитесь с Harper Siding and Roofing сегодня!

РЕСУРСЫ :

https://www.thisoldhouse.com/ideas/leakproof-flashing

 

Обшивка крыши и дымохода: ваш дом водонепроницаем?

Представьте, что вы наслаждаетесь спокойной ночью у себя дома перед телевизором, вдали от сумасшествия жизни. Будете ли вы смотреть фильм, спортивную игру или даже реалити-шоу?

Внезапно вы слышите капание.Оглядевшись вокруг в поисках источника капающего звука, вы, наконец, находите его…

Он идет с потолка! Итак, вы идете на чердак и замечаете, что это может быть сам дымоход.

Почему твой дымоход протекает? Разве кирпич и раствор не водонепроницаемы? Кроме того, есть крышка, которая идет над отверстием дымохода. Разве это не должно удерживать воду?

Реальность такова, что, к сожалению, дымоходы протекают каждый день, и наиболее частой причиной является перепрошивка .

Что такое прошивка дымохода?

Обшивка — это любой тонкий кусок металла и герметик, который используется для предотвращения проникновения воды за пределы вашего дома. Мы обсуждали обшивку крыш в нашей предыдущей статье «Расследования протечек крыш: 3 неожиданные причины протечек крыш и гидроизоляция каменных дымоходов».

Облицовка дымохода находится в основании штабеля. Это металлические или герметизирующие слои, которые предназначены для обеспечения водонепроницаемого уплотнения между дымоходом и линией крыши.

Эта защитная система изготавливается с использованием различных средств и технологий. Тем не менее, наиболее важным атрибутом мигания является простота; он должен быть водонепроницаемым.

Когда наша команда приезжает, чтобы исследовать протекающий дымоход, мы всегда учитываем обшивку в том месте, где этот дымоход соединяется с линией крыши.

Причина, по которой мы считаем это наиболее важным аспектом перепрошивки, заключается в том, что существует множество различных способов его установки. Стиль обшивки, способ ее установки и тип материалов, используемых для завершения установки, различаются в зависимости от типа дымохода и имеющейся крыши.

Стили мигания:

Прошивка может быть выполнена несколькими способами.

  • Форма обшивки больше зависит от мастера и типа дымохода, чем от определенного стиля, который работает лучше других.
  • Оклад может непрерывно следовать за одним растворным швом, придавая окладу чистый внешний вид.
  • Фартук также может быть уменьшен, чтобы он выглядел как лестница, спускающаяся вслед за дымоходом.
  • Наконец, популярным методом является диагональный стиль, который скользит сквозь раствор и кирпич.

В том-то и дело, что все эти стили полезны, если их правильно установить. Существует четыре основных типа окладов, которые подходят для каменных дымоходов:

  1. Ступенчатое мигание

    Ступенчатая планка — это планка, встроенная в черепицу.Она может быть изготовлена ​​из самых разных материалов, в зависимости от типа кровли и ее уклона.

    На черепичной крыше обшивка мастерски вплетена в черепицу или кровельный материал для защиты шва между дымоходом и крышей.

  2. Мигание счетчика

    Ответная планка устанавливается над ступенчатой ​​планкой параллельно дымоходу.

    Если система представляет собой каменный дымоход, ответная планка должна быть встроена в систему, чтобы гарантировать, что большая часть воды не сможет обойти шов счетчика и ступенчатой ​​планки.

    Для всех других методов встречного оклада можно использовать облицовку кирпичом и камнем, винил, деревянную отделку или Hardy Plank.

  3. Сверчки

    Хотя это и не стиль или тип мигания, при исследовании мерцания следует учитывать роль сверчка.

    Сверчок представляет собой коньковую конструкцию, которая используется для перемещения воды по крыше из одной области крыши в другую. Сверчок обычно имеет тот же шаг, что и остальная часть крыши, но это не всегда так.

    предоставлен Pro Roofing NW

  4. Могут быть установлены сверчки меньшего размера, покрытые металлическими гидроизоляционными материалами. Любой дымоход диаметром более 30 дюймов должен иметь сверчок. Сверчок может быть изготовлен из гонта и рубероида или обшит металлом. Однако металлические сверчки гидроизоляции со швами на вершине или внутри системы подвержены протечкам, независимо от количества нанесенного герметика.

  5. Резина

    Обшивка зоны дымохода системой резиновой кровли очень сложна.В большинстве случаев важно, чтобы квалифицированный мастер обернул слой резинового материала в ступенчатую оплетку, а затем встречную оплетку алюминием или медью.

    Это длительный процесс. Если есть какие-либо ошибки, протечки проявятся в углах, где труднее всего поддерживать герметичность.

Материалы для гидроизоляции

Накладка может быть изготовлена ​​из различных материалов. Каждый из них имеет свои преимущества и недостатки ( i.е. производительность, долговечность, цена и т. д. ).

Некоторые из различных материалов перечислены ниже:

  • Алюминий:  Алюминий — наш самый популярный материал для 90 % наших проектов. Он может быть покрыт порошковой краской, чтобы эстетически соответствовать акцентам дома, обладает отличной долговечностью и прост в использовании для должным образом обученного специалиста.
  • Медь : Медное покрытие вокруг дымохода часто считается идеальным материалом из-за его долговечности, внешнего вида и пластичности.Это также самый дорогой материал из бытовых вариантов. Стоимость часто стоит результата из-за полированного представления и исключительных аспектов атмосферных воздействий.
  • Свинцовый : Свинцовый отлив более популярен в северных районах страны. Материал исключительно податлив и легок в обработке. Хотя это не популярная альтернатива алюминию и меди из-за его токсичности, правильный монтажник может создать водонепроницаемое решение с этим материалом.
  • Уплотнительное уплотнение : Уплотнительное покрытие и уплотнительная ткань являются временным решением в случае износа уплотняющего покрытия.Это экономичное и простое в установке решение. Однако на эту систему сильно влияют элементы, и ее следует использовать только тогда, когда нет другой альтернативы.
  • Винил или ПВХ:  ПВХ и виниловые отливы чрезвычайно экономичны; тем не менее, они не обладают атмосферостойкими свойствами, которые имеют металлические оклады. Как правило, эти типы материалов используются для встречного оклада поверх ступенчатого оклада, встроенного в черепицу.
  • Гофрированный металл: Металл, используемый при покрытии конструкции, представляет собой гофрированный металл, и этот тип металла следует использовать при накладке металлической кровли.В противном случае невозможно получить уплотнение и предотвратить окисление.

Смешивание гидроизоляционных материалов – смешивать или не смешивать?

Очень важно проконсультироваться со специалистом, когда очевидны сложные системы прошивки.

Смешивание металлов, таких как медь и алюминий, может иметь неблагоприятные последствия из-за окисления, которое приведет к отказу системы. Лучшее эмпирическое правило — хранить одинаковые материалы в системах вместе.

Примером может служить сочетание алюминиевой ступенчатой ​​планки с алюминиевой ответной планкой.Допустимо сочетать алюминий или медь без металлических материалов, таких как винил или дерево, в случае сборной деревянной канавки.

Заключительные слова совета

Обшивка дымохода является одним из первых элементов, которые мы проверяем на каждом дымоходе, потому что вода из этих типов утечек может проявляться по-разному.

В большинстве случаев, связанных с черепицей, подойдет алюминиевая планка с соответствующим стилем ответной планки. Опыт мастера, занимающегося проектом, даже важнее, чем материалы.

Правильные элементы в чужих руках — это рецепт катастрофы (внутри вашего дома). Срезание угла в этой области может привести к гниению обшивки крыши и разрушению гипсокартона.

Если вы ищете подходящего профессионала для обслуживания ваших дымоходов и гидроизоляции, которому вы можете доверять и знать, что работа будет сделана превосходно, не ищите ничего, кроме Chimney’s Plus.

Позвоните нам, и мы позаботимся о том, чтобы ваш дымоход был готов противостоять непогоде.

Наша программа летнего обслуживания (SSP) лежит в основе нашего бизнеса, поскольку она направлена ​​на обслуживание домов и поддержание отношений с соседями, которые владеют этими домами. В течение следующих нескольких недель и месяцев вы будете получать информацию о том, когда Chimneys Plus будет работать в вашем конкретном округе, работая над домами в вашем районе. Не стесняйтесь запланировать свое собственное обслуживание в любой момент и убедитесь, что ваш дымоход и камин готовы к использованию осенью и зимой.

Установка облицовки дымохода – хорошее строительство дома

Дымоходы должны быть облицованы противовесом.Верхние части ответной планки обычно засовывают в швы дымохода с раствором и заставляют нависать над различными частями базовой гидроизоляции, которые прибиваются к настилу крыши. Элементы противовеса и основания перекрывают друг друга, но физически не соединены, поэтому они могут двигаться независимо, но при этом отталкивать воду. (Эта независимость необходима, потому что дома и дымоходы оседают с разной скоростью, что приводит к разрыву и протечке цельной обшивки.)

Обшивка дымохода

Фартук, отливающий вниз по склону дымохода, оборачивается вокруг углов дымохода и сам перекрывается ступенчатым отливом, спускающимся с каждой стороны.Крикет на склоне тоже сложен; он заворачивает углы и перекрывает ступенчатую вспышку ниже. Попросите мастерскую пропаять все швы, чтобы они были водонепроницаемыми.

 

Замена ответной планки и нижней планки

Чтобы избежать повреждения дымохода при перекрытии, используйте самый щадящий метод для удаления ответной планки. Если раствор непрочный и крошится, вы можете вытащить гидроизоляцию вручную; в этом случае перенаправьте миномет после замены ответной планки.Если строительный раствор прочный, а контрфланец прочно застрял, попробуйте использовать холодное долото или долото с твердосплавным наконечником в пневматическом пневматическом долоте, чтобы вырезать заусенец и как можно меньше раствора.

Обшивка основания должна быть удалена, потому что вы одновременно снимаете кровельную и строительную бумагу. Базовая обшивка состоит из нескольких компонентов: непрерывный фартук из листового металла на нисходящей поверхности дымохода, L-образный ступенчатый отлив, идущий вверх по обеим сторонам, и (когда дымоход находится ниже конька крыши) сверчок (или седло), проходящий по верхнему откосу. лицо.Сверчок наклонен, как крыша палатки, чтобы отводить воду вокруг дымохода. Используйте молоток с когтями, плоский стержень или кошачью лапу, чтобы приподнять старое основание от обшивки крыши. Затем забейте все гвозди, которые вы не можете вытащить.

СОВЕТ ПРОФЕССИОНАЛА: Перед установкой ответной планки дымохода продуйте или очистите щеткой строительный раствор от мусора. Если шланг вашего воздушного компрессора может достигать крыши, используйте его. В противном случае можно использовать узкую щетку или баллончик с воздухом (из тех, что продаются в канцелярских магазинах для чистки клавиатур).Но обязательно надевайте защитные очки и пылезащитную маску или респиратор, когда тревожите обломки каменной кладки.

 

Сначала снова прикрепите прокладки к основанию

Поскольку черепица упирается в скат дымохода, накройте ее фартуком. Нижний фланец фартука должен перекрывать черепицу не менее чем на 4 дюйма; его верхний фланец должен проходить не менее чем на 12 дюймов вверх по поверхности дымохода. Сборные фартуки обычно имеют «уши», которые оборачиваются вокруг углов дымохода и прибиваются к обшивке гвоздями.Когда черепица поднимается по обеим сторонам дымохода, она перекрывает днища L-образных частей ступенчатого оклада.

Держите гвозди как можно дальше от складок. Используйте один гвоздь, чтобы прибить каждую часть ступенчатой ​​планки и черепицу, покрывающую ее. Когда ряды гонта по обеим сторонам дымохода достигают задней (выходящей вверх по склону) стороны дымохода, нижние полки сверчка перекрывают их.

Если самонесущий сверчок изготовлен из толстой оцинкованной стали 20 калибра, предварительно просверлите отверстия для гвоздей в нижнем фланце сверчка.Прибейте его кровельными гвоздями с прокладками, расположенными через каждые 6 дюймов, вниз на 2 дюйма от верхнего края. Затем покройте верхние края фланца сверчка полосой самоклеящейся битумной мембраны и перекройте ее черепицей. Наконец, загерметизируйте верхние края фартука, сверчка и отливов ступеней уретановым герметиком, чтобы запечатать их на дымоходе.

1. При кровле вдоль дымохода чередуйте гонты и Г-образные элементы ступенчатого оклада. Контрпрошивка покроет вершины ступенчатой ​​прошивки.Для дополнительной защиты проложите полосу уретана между ступенчатой ​​планкой и дымоходом. Вдавите обшивку в уретан, чтобы обеспечить надежное уплотнение.

2. Эта шлифовальная машина предназначена для шлифования швов старого дымохода. Как только абразивный круг попадет в раствор, вы не увидите ничего, кроме песка. Наденьте защитные очки или защитные очки.

3. Ответная планка удерживается на месте изогнутой кромкой, вставленной в растворный шов.На всякий случай каменщик забивал каменные гвозди в раствор, а затем с помощью холодного долота забивал их глубже.

4. Наконец, нанесите полоску уретанового герметика, такого как Vulkem 116, чтобы заполнить шов и запечатать воду. Как только герметик немного затвердеет, вы можете потереть его большим пальцем.

Установка ответной планки

Ответная планка должна перекрывать базовую планку на 4 дюйма. Традиционно каменщики удаляли строительный раствор из дымохода на глубину 1 1/2 дюйма зубилом с заостренным кончиком.а затем вставил загнутую кромку ответной планки в растворный шов. Затем стык был заполнен полосами свинца, чтобы удерживать отлив на месте, после чего с помощью ударного инструмента (также известного как пятно) был нанесен свежий раствор. Этот метод работает хорошо, но вы должны быть осторожны, чтобы не повредить окружающие кирпичи. Замажьте уретановым герметиком, как только раствор схватится.

В качестве альтернативы можно использовать абразивный круг в аккумуляторной шлифовальной машине, чтобы вырезать узкие щели в швах раствора; затем вставьте ответную планку с загнутой назад губой так резко, что она будет напоминать зазубрину рыболовного крючка.Эта зазубренная кромка плотно входит в прорезь, поэтому раствор не нужен. Вместо этого заполните щель уретановым герметиком, который хорошо прилипает и не пропускает воду.

3 Наиболее распространенные причины утечки дымоходов

Протекание крыши вокруг дымоходов может произойти по разным причинам, например из-за плохого гидроизоляции на крыше или пористой кладки из закладного кирпича, а некоторые дымоходы даже страдают от множества проблем, которые могут вызвать протечки. Понимание того, почему ваш дымоход может протекать, поможет вам принять лучшее решение по ремонту дымохода, что сэкономит ваши деньги.

Вот 3 главные утечки дымоходов Reason

1. Самая распространенная причина протекания крыш вокруг дымоходов – это протечки на крыше в месте соединения с дымоходом. Для кровли вокруг дымохода используются два типа накладок: базовая накладка или ступенчатая накладка — это часть или части, которые прикрепляются к самой крыше и образуют L-образный изгиб вверх вдоль стороны дымохода. Следующий тип фартука называется встречным фартуком, и его цель состоит в том, чтобы покрыть верхнюю часть ступенчатого фартука и не допустить попадания воды за него.Накладка счетчика — это та часть, которую вы обычно видите с земли или с дороги, и обычно она встроена в каменную стену.

  

Независимо от того, есть ли у вас крыша из битумной черепицы или металлическая крыша, обшивка дымохода может быть одной из самых сложных частей кровельных работ, требующих наибольшего мастерства, к сожалению для домовладельцев, не все кровельные компании знают, как правильно или имеют опыт правильной обшивки дымоходов. Многие кровельщики даже полностью отказываются от обшивки дымохода, полагаясь на старую обшивку, чтобы новая крыша оставалась сухой.Это редко приносит пользу домовладельцу.

 

Симптомы плохого обшивки дымохода

 

  • Натяжной потолок вокруг дымохода на расстоянии нескольких футов 
  • Мягкая или гнилая обшивка крыши вокруг дымохода со стороны крыши
  • Скрученная или деформированная черепица рядом с дымоходом и под ним 
  • Может позволить большему количеству воды попасть в дом или здание

 

2. Не такой распространенной, как протечки из-за плохой гидроизоляции, но все же частой причиной протечек дымохода является инфильтрация воды, связанная с конструкцией каменной кладки и цементной крышкой. Каменные дымоходы не только подвергаются жестокому обращению со стороны матери-природы, сидящей на крыше домов и зданий, но также подвержены моменту конструкции и большему тепловому удару из-за быстрого нагрева и охлаждения от исходящего от них тепла. Все это может сказаться на самом кирпиче или камне, а растворные швы скрепляют кладку.Трещины образуются на цементной шапке и позволяют влаге проникать в кладку, а морозная погода заставляет эту влагу расширяться и может отколоть переднюю часть кирпича или камня, делая кирпич еще более уязвимым для проникновения воды.

 

Утечки из дымохода, связанные с кирпичной кладкой, часто являются более медленными, более просачивающимися утечками, которые могут возникать или не возникать каждый дождь. Может потребоваться большее количество дождя/снега, чтобы пропитать пористую кладку до такой степени, что она будет просачиваться внутрь.

 

Симптомы протекания крыш вокруг дымохода из каменной кладки

  • Лицевая сторона кирпичей снята при укладке на крышу 
  • Кирпич внутри дымохода после дождя темнеет, затем становится белым
  • Утечки обычно происходят медленнее
  • Дымоход может протекать, не окрашивая потолок, потому что вода поступает изнутри кирпича

 

3.

Разное

Добавить комментарий Отменить ответ

Ваш адрес email не будет опубликован. Обязательные поля помечены *

Свежие записи

  • Развивающие занятия для детей 3-4 лет: игры, упражнения и методики
  • Детский ортопед в Минске: когда обращаться, что лечит, как проходит прием
  • Полный список необходимых вещей для мамы и малыша в роддоме: что нужно взять с собой

Рубрики

  • Без рубрики
  • Бетонный
  • Выбор ламината
  • Выбор линолеума
  • Гидроизоляция
  • Деревянные полы
  • Деревянный
  • Домашняя гидроизоляция
  • Заливк
  • Заливка
  • Заливка растворов
  • Заливной
  • Заливной пол
  • Из бетона
  • Из дерева
  • Ламинат
  • Линолеум
  • Маяки
  • Применение бетона
  • Разное
  • Своими руками
  • Стяжк
  • Стяжка
  • Стяжка полов
  • Установка маяков
2019 © Все права защищены.